Operation CHARM: Car repair manuals for everyone.
Manuals through 2025 now available!

Our trusted friends have launched a new website named LEMON, which has newer manuals. It also contains all the CHARM manuals.

LEMON is the spiritual successor to CHARM, I recommend you try it!

Link: lemon-manuals.la or lemon-manuals.org.ua

(Some people have issue connecting. LEMON is investigating. For now, use Firefox or change your DNS server)

Or, hide this message: temporarily or permanently

Transmission Position Sensor/Switch: Service and Repair




Transmission Range Switch Replacement

1. Raise the vehicle on a lift, or apply the parking brake, block the rear wheels, and raise the front of the vehicle. Make sure it is securely supported.

2. Move the shift lever to N.

3. Remove the transmission range switch cover.






4. Remove the transmission range switch.






5. Make sure the selector control shaft is in the N position. If necessary, move the shift lever to N from P.

NOTE: Do not use the selector control shaft to adjust the shift position. If the selector control shaft tips are squeezed together it will cause a faulty signal or position due to play between the selector control shaft and switch.






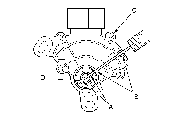
6. Align the cutouts (A) on the rotary-frame with the neutral positioning cutouts (B) on the transmission range switch (C), then put a 2.0 mm (0.08 in) feeler gauge blade (D) in the cutouts to hold the switch in the N position.

NOTE: Be sure to use a 2.0 mm (0.08 in) blade or equivalent to hold the switch in the N position.






7. Install the transmission range switch (A) gently on the selector control shaft (B) while holding it in the N position with the 2.0 mm (0.08 in) blade (C).






8. Tighten the bolts on the transmission range switch while you continue holding the N position. Do not move the transmission range switch when tightening the bolts. Remove the feeler gauge.





9. Check the connectors for corrosion, dirt, or oil, and clean or repair if necessary, then connect the connector securely.

10. Turn the ignition switch to ON (II). Move the shift lever through all positions, and verify the transmission range switch matches with the A/T gear position indicator.

11. Check that the engine will start in P and N, and will not start in any other shift lever position.

12. Check that the back-up lights come on when the shift lever is in R.

13. Allow the front wheels to rotate freely, then start the engine, and check the shift lever operation.

14. Install the transmission range switch cover.