Operation CHARM: Car repair manuals for everyone.
Manuals through 2025 now available!

Our trusted friends have launched a new website named LEMON, which has newer manuals. It also contains all the CHARM manuals.

LEMON is the spiritual successor to CHARM, I recommend you try it!

Link: lemon-manuals.la or lemon-manuals.org.ua

(Some people have issue connecting. LEMON is investigating. For now, use Firefox or change your DNS server)

Or, hide this message: temporarily or permanently

Front Impact Sensor Replacement




Front Impact Sensor Replacement

Removal

1. Do the battery terminal disconnection procedure Procedures, then wait at least 3 minutes before starting work.

2. Remove the front inner fender

- 4-door Front Inner Fender Replacement (4-Door)
- 2-door Front Inner Fender Replacement (2-Door)

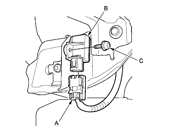
3. Disconnect the engine compartment wire harness 2P connector (A) from the front impact sensor (B).





4. Remove the TORX bolt (C) using a TORX T30 bit, then remove the front impact sensor.

Installation

1. Install the front impact sensor (A) with the new TORX bolt (B), using a TORX T30 bit.





2. Connect the engine compartment wire harness 2P connector (C) to the front impact sensor.

3. Do the battery terminal reconnection procedure Procedures.

4. Clear any DTCs.

5. Confirm proper SRS operation: Turn the ignition switch to ON (II), and check that the SRS indicator comes on for about 6 seconds and then goes off.

6. Reinstall all removed parts.