Operation CHARM: Car repair manuals for everyone.
Manuals through 2025 now available!

Our trusted friends have launched a new website named LEMON, which has newer manuals. It also contains all the CHARM manuals.

LEMON is the spiritual successor to CHARM, I recommend you try it!

Link: lemon-manuals.la or lemon-manuals.org.ua

(Some people have issue connecting. LEMON is investigating. For now, use Firefox or change your DNS server)

Or, hide this message: temporarily or permanently

Air Bag Systems: Service Precautions




SRS Precautions and Procedures

General Precautions

NOTE: Some systems store data in memory that is lost when the battery is disconnected. Before disconnecting the battery, refer to Battery Terminal Disconnection and Reconnection.

Please read the following precautions carefully before servicing the SRS, or the airbags could accidentally deploy and cause damage or injuries.

- Except when doing electrical inspections that requires battery power, always turn the ignition switch to LOCK (0), disconnect the negative cable from the battery, then wait at least 3 minutes before starting work.
NOTE: The SRS memory is not cleared even if the ignition switch is turned to LOCK (0) or the battery cables are disconnected from the battery.
- Use replacement parts which are manufactured to the same standards and quality as the original parts. Do not install used SRS parts. Use only new parts when making SRS repairs.
- Carefully inspect any SRS part before you install it.
Do not install any part that shows signs of being dropped or improperly handled, such as dents, cracks or deformation.





- Before disconnecting the SRS unit connectors, always disconnect the appropriate SRS parts connectors.
- Use only a digital multimeter to check the system. If it is not a Honda multimeter, make sure its output is 10 mA (0.01 A) or less when switched to the lowest value in the ohmmeter range. A tester with a higher output could cause accidental deployment and possible injury.
- Do not put objects on the front passenger's airbag.

Steering-Related Precautions

Cable Reel Alignment

- Misalignment of the cable reel could cause an open in the wiring, making the SRS, remote steering wheel controls, or the horn inoperative. Center the cable reel whenever you do the following.
- Installation of the steering wheel.
- Installation of the cable reel.
- Installation of the steering column.
- Other steering-related adjustment or installation.
- Do not disassemble the cable reel.
- Do not apply grease to the cable reel.
- If the cable reel shows any signs of damage, replace it with a new one. For example, if the cable reel does not rotate smoothly, replace it.

Airbag Handling and Storage

Do not disassemble an airbag. It has no serviceable parts. Once an airbag has been deployed, it cannot be repaired or reused.

For temporary storage of an airbag during service, observe the following precautions.

- Store the removed airbag with the pad surface up. Never put anything on the airbag.





- To prevent damage to the airbag, keep it away from any oil, grease, detergent, or water.





- Store the removed airbag on a secure, flat surface away from any high heat source (exceeding 200 °F (93 °C)).





- Never do electrical tests on the airbags, such as measuring resistance.

- Do not position yourself in front of the airbag during removal, inspection, or replacement.





- For proper disposal of a damaged airbag or tensioner, refer to Airbag and Tensioner Disposal Procedures.

- The side curtain airbag module assembly is a long, jointed part containing an inflator (A), a flexible bag (B), and brackets (C). When removing or installing the side curtain airbag assembly, never:
- Handle the flexible bag.
- Drop the airbag assembly.
- Cut, tear, or unwrap the tape strips.





SRS Unit, Front and Side Impact Sensors, Driver's Seat Position Sensor, Front Passenger's Weight Sensors, and Rear Safing Sensor

NOTE: Some systems store data in memory that is lost when the battery is disconnected. Before disconnecting the battery, refer to Battery Terminal Disconnection and Reconnection Procedures.

- Turn the ignition switch to LOCK (0), disconnect the negative cable from the battery then wait at least 3 minutes before starting installation or replacement of the SRS unit, or disconnecting the connectors from the SRS unit.
- Be careful not to bump or impact the SRS unit, the front impact sensors, the side impact sensors, or the rear safing sensor when the ignition switch is in ON (II), or for at least 3 minutes after the ignition switch is turned to LOCK (0).
- Do not reconnect any connectors to the SRS unit until it is fully installed, including torquing the bolts.
- During installation or replacement, be careful not to bump (by impact wrench, hammer, etc.) the area around the SRS unit, the front impact sensors, the side impact sensors, or the rear safing sensor. The airbags could accidentally deploy and cause damage or injury.





- After a collision where the front airbags, the side airbags, the side curtain airbags, the front seat belt tensioners, or the front seat belt buckle tensioners deploys, go to Component Replacement/Inspection after Deployment Service and Repair. After a collision where the front airbags or the side airbags do not deploy, inspect for any damage or any deformation on the SRS unit, the front impact sensors, the side impact sensors, and the rear safing sensor. If there is any damage, replace the SRS unit and/or the sensors. Also, do the front seat active head restraint inspection Testing and Inspection.





- Do not disassemble the SRS unit, front impact sensors, side impact sensors, driver's seat position sensor, front passenger's weight sensors, or rear safing sensor.
- Always install the SRS unit, the driver's seat position sensor, all impact sensors, and the rear safing sensor securely with the new TORX bolts to the specified torque.
- Do not spill water or oil on the SRS unit or the any of the sensors.

Wiring Precautions

Some of the SRS wiring can be identified by a special yellow outer covering, and the SRS connectors can be identified by their yellow color. Observe the following instructions.

- Never attempt to modify, splice, or repair SRS wiring.
If there is an open or damage to the SRS wiring, replace the harness.





- Be sure to install the harness wires so they do not get pinched or interfere with other parts.





- Make sure all SRS ground locations are clean, and the grounds are securely fastened for optimum metal-to-metal contact. Poor grounds can cause intermittent problems that are difficult to diagnose.
- Do not use any silicone based cleaners or lubricants on any SRS connectors or terminals.

Precautions for Electrical Inspections

Special Tools Required

- Back Probe Adapter, 17 mm 07TAZ-001020A

- Make sure the battery is fully changed when doing electrical test. If the battery is not fully charged, the results of the tests may not be accurate.
- When using electrical test equipment, insert the probe of the tester into the wire side of the connector (except waterproof connectors). Do not insert the probe of the tester into the terminal side of the connector, and do not tamper with the connector.





- Use the back probe adapter, 17 mm (07TAZ-001020A). Do not insert the probe forcibly.





- Use specified service connectors in troubleshooting.
Using improper tools could cause a diagnostic error due to poor metal-to-metal contact.

Spring-Loaded Lock Connector

Some SRS connectors have a spring-loaded lock.

Front Airbag Connectors

Disconnecting

To release the lock, pull the spring-loaded sleeve (A) toward the stop (B) while holding the opposite half of the connector, then pull the connector halves apart. Be sure to pull on the sleeve and not on the connector.





Connecting

To reconnect, hold the pawl-side connector, and press on the back of the sleeve-side connector in the direction shown. As the two connector halves are pressed together, the sleeve (A) is pushed back by the pawl (B). Do not touch the sleeve.






Side Airbag Connector

Disconnecting

To release the lock, pull the spring-loaded sleeve (A) toward the stop (B) while holding the opposite half of the connector, then pull the connector halves apart. Be sure to pull on the sleeve and not on the connector half.





Connecting

Hold both connector halves, and press them firmly together until the projection (A) of the sleeve-side connector clicks.






Opening the SRS Unit Shorting Connectors for Diagnosis

Special Tools Required

- SRS Short Canceller 070AZ-SAA0100

NOTE:

- To prevent damage to the connector cavity, insert an SRS short canceller straight into the cavity from the terminal side.
- Before installing an SRS short canceller, wash it with electric contact cleaner, then dry it with compressed air.
- Do not use an SRS short canceller if it is damaged.
- Make sure to remove the short canceller before reconnecting the SRS unit connector.
- Some systems store data in memory that is lost when the battery is disconnected. Before disconnecting the battery, refer to Battery Terminal Disconnection and Reconnection Procedures.

When SRS unit connectors A (28P) and B (28P) are disconnected, short circuits are automatically created in the connector to prevent accidental deployment of an airbag or tensioner. The circuit may need to be opened sometimes when testing the system. Insert an SRS short canceller (070AZ-SAA0100) in the specified cavities when is necessary to keep the circuit open for diagnosis.





Terminal numbers are shown from the wire side of the female terminals. Insert the SRS short canceller(s) into the cavities on the terminal side of the connector.










Seats With Side Airbags

Seats with side airbags have a "SIDE AIRBAG" label on the seat-back.





- Clean the seats with a damp cloth. Do not soak the seats with liquid, and do not spray steam on the seats.
- Do not repair a torn or frayed seat-back cover. Replace the seat-back cover if it is damaged.
- After a collision where the side airbag was deployed, replace the side airbag and the seat frame with the new parts. If the seat-back cover is split, it must be replaced. Refer to Component Replacement/Inspection After Deployment Service and Repair.
- Never put aftermarket accessories on the seats (covers, pads, seat heaters, lights, etc.).

Disconnecting System Connectors

1. Turn the ignition switch to LOCK (0). Do the battery terminal disconnection procedure, then wait at least 3 minutes before starting work.

Driver's Airbag

2. Remove the access panel (A) from the steering wheel, then disconnect the cable reel 4P connector (B) from the driver's airbag 4P connector.






Front Passenger's Airbag

3. Remove the glove box Service and Repair.

4. Disconnect the dashboard wire harness 4P connector (A) from the front passenger's airbag 4P connector.






Side Airbag

5. Disconnect the floor wire harness 2P connectors (A) from the driver's and the front passenger's side airbag 2P connectors.






Side Curtain Airbag

6. Remove the headliner Service and Repair.

7. Disconnect the floor wire harness 2P connectors (A) from the left and right side curtain airbag 2P connectors.






Front Seat Belt Tensioner

8. 4-door: Remove the B-pillar lower trim.

2-door: Remove the rear side trim panel .

9. Disconnect the floor wire harness 4P connectors (A) from the driver's and the front passenger's seat belt tensioner 4P connectors.






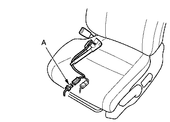
Front Seat Belt Buckle Tensioner

10. Disconnect the floor wire harness 4P connectors (A) from the driver's and the front passenger's seat belt buckle tensioner 4P connectors.






SRS Unit

11. Remove the center console Center Console Removal/Installation.

12. Disconnect SRS unit connectors A (28P) and B (28P) from the SRS unit.

NOTE: Before disconnecting SRS unit connector B from the SRS unit, disconnect both front seat belt tensioner 4P connectors and the both front seat belt buckle tensioner 4P connectors.