Engine Installation
Engine Installation
Special Tools Required
- Universal Lifting Eyelet 07AAK-SNAA120
- 1.8 Support Eyelet 07AAK-SNAA400
- 1.8 Support Bolt 07AAK-SNAA500
- Engine Support Hanger, A and Reds AAR-T1256
- 2006 Civic Engine Hanger VSB02C000025
- Subframe Adapter VSB02C000016
*Available through Honda Tool and Equipment Program, 888-424-6857.
1. Install the engine mount brackets and the accessory brackets, and tighten their bolts to the specified torque.
2. Raise the vehicle on the lift, and position the engine/transmission under the vehicle. Lower the vehicle, and attach the universal lifting eyelet (07AAK-SNAA120) and the chain hoist to the universal lifting eyelet and the transmission hanger, then lift the engine into position in the vehicle.
NOTE: Reinstall the mounting bolts/support nuts in the sequence given in the following steps. Failure to follow this sequence may cause excessive noise and vibration, and reduce engine mount life.
3. Install the 1.8 support eyelet (07AAK-SNAA400) behind the breather pipe (A) and down to the thread hole (B) on the cylinder head.
4. Attach the 1.8 support eyelet (A) to the cylinder head with the 1.8 support bolt (07AAK-SNAA500). Tighten the bolt by hand.
5. Install the engine support hanger (AAR-T1256) onto the 2006 Civic engine hanger (VSB02C000025) as shown, and attach the hook to the slotted hole in the 1.8 support eyelet. Tighten the wing nut (A) by hand, and lift and support the engine/transmission.
NOTE: Be careful when working around the windshield.
6. Loosen the upper torque rod mounting bolt (A).
7. Loosely install the new side engine mount bracket mounting bolt and nut (A).
8. Loosely install the new transmission mount bracket mounting bolt and nuts (A).
A/T model
9. Install the ground cable (B).
10. Remove the chain hoist, then raise the vehicle on the lift.
11. Using the subframe adapter (VSB02C000016) and a jack, raise the front subframe up to the body.
12. Loosely install the new front subframe mounting bolts.
13. Align all reference marks (A) on the front subframe (B) with the edge of the body (C), then tighten the bolts on the front subframe to the specified torque.
14. Remove the jack and the subframe adapter.
15. Tighten the new mid-stiffener mounting bolt on both sides.
16. Install the lower torque rod, then loosely install the new lower torque rod mounting bolts.
M/T model
A/T model
17. Lower the vehicle on the lift, and remove the engine support hanger, 2006 Civic engine hanger, the 1.8 support eyelet, and the 1.8 support bolt.
18. Tighten the side engine mount bracket mounting bolt and nut.
19. Tighten the transmission mount bracket mounting bolt and nuts.
M/T model
A/T model
20. Raise the vehicle on the lift.
21. Tighten the lower torque rod mounting bolts in the numbered sequence shown.
22. Lower the vehicle on the lift.
23. Tighten the upper torque rod mounting bolt.
24. Remove the universal lifting eyelet (A) and the bolt (B), then install the ground cable (C).
25. Raise the vehicle on the lift.
26. Hydraulic power steering model: Install the steering gearbox stiffener (A), then tighten the bolts loosely.
27. Hydraulic power steering model: Position the "FR" mark to the front of the vehicle, then install the steering gearbox bracket (B), then tighten the bolts loosely.
28. Hydraulic power steering model: Install the steering gearbox stiffener (A), then tighten the bolts loosely.
29. Hydraulic power steering model: Install the power steering line on the clamp (A), then install the power steering line brackets (B) on the front subframe.
30. Hydraulic power steering model: Install the power steering pump.
31. EPS model: Install the gearbox stiffener (A), then tighten the bolts loosely. Secure the harness clamp bracket (B) with the bolt.
32. EPS model: Install the stiffener (A), then tighten the bolts loosely.
33. EPS model: Install the steering gearbox bracket, then tighten the bolts loosely.
34. EPS model: Secure the harness clamp bracket with the bolt.
35. Tighten the steering gearbox mounting bolts and the stiffener mounting bolts to the specified torque.
36. A/T model: Install the shift cable.
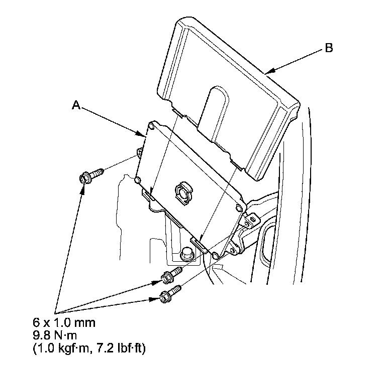
37. Install a new set ring on the end of each driveshaft, then install the driveshafts. Make sure each ring "clicks" into place in the differential and the intermediate shaft.
38. Connect the lower arms to the knuckles.
39. Connect the stabilizer links Front Stabilizer Link Removal/Installation.
40. Install exhaust pipe A. Use new gaskets (B) and new self-locking nuts (C).
41. Install the splash shield.
42. Lower the vehicle on the lift.
43. Connect the heater hoses.
44. Install the A/C compressor (A).
45. Connect the A/C compressor clutch connector (B), then install the harness clamp (C).
46. Install the drive belt Service and Repair.
47. Remove the bulkhead, then install the radiator Service and Repair.
48. M/T model: Install the clutch slave cylinder and the clutch line bracket mounting bolt.
49. M/T model: Install the shift cables.
50. Install the harness holder (A) and the harness clamp (B).
51. Connect the ECM/PCM connectors (A) and the engine wire harness connectors (B).
52. Install the harness clamps (C).
53. Install the ECM/PCM (A), then install the ECM/PCM cover (B).
54. Connect the battery cables (A) to the under-hood fuse/relay box.
55. Install the harness clamps (B).
56. Connect the EVAP canister hose (A) and the brake booster vacuum hose (B), and install the power steering hose clamp (C).
57. Connect the fuel feed hose (A), then install the quick-connect fitting cover (B) Fuel Line/Quick-Connect Fitting Installation.
58. Install the injector cover.
59. Install the under-cowl panel and the cowl cover Service and Repair.
60. Install the air cleaner mounting bracket (A) on the cylinder head.
61. Install the air cleaner Service and Repair.
62. Install the intake air duct.
63. Install the front wheels.
64. Do the battery installation procedure Removal and Replacement.
65. Inspect for fuel leaks. Turn the ignition switch to ON (II) (do not operate the starter) so the fuel pump runs for about 2 seconds and pressurizes the fuel line. Repeat this operation three times, then check for fuel leakage at any point in the fuel line.
66. Refill the engine with engine oil Service and Repair.
67. Refill the transmission with fluid:
- Manual transmission MTF Inspection And Replacement (5MT)
- Automatic transmission
68. A/T model: Move the shift lever to each gear, and verify that the A/T gear position indicator follows the transmission range switch.
69. M/T model: Check that the transmission shifts into all gears smoothly.
70. Refill the radiator with engine coolant, and bleed the air from the cooling system Service and Repair.
71. Check for fluid leaks.
72. Do the ECM/PCM reset procedure.
73. Do the CKP pattern clear/CKP pattern learn procedure.
74. Inspect the idle speed Testing and Inspection.
75. Inspect the ignition timing Testing and Inspection.
76. Check the wheel alignment Service and Repair.