Operation CHARM: Car repair manuals for everyone.
Manuals through 2025 now available!

Our trusted friends have launched a new website named LEMON, which has newer manuals. It also contains all the CHARM manuals.

LEMON is the spiritual successor to CHARM, I recommend you try it!

Link: lemon-manuals.la or lemon-manuals.org.ua

(Some people have issue connecting. LEMON is investigating. For now, use Firefox or change your DNS server)

Or, hide this message: temporarily or permanently

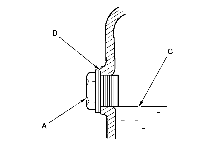
Fluid - M/T: Service and Repair




MTF Inspection and Replacement

1. Raise the vehicle on a lift, and make sure it is securely supported.

2. Remove the filler plug (A) and the sealing washer (B). Check the condition of the MTF and make sure it is at the proper level (C).






3. If the fluid is dirty, remove the drain plug (A) and the sealing washer (B), and drain the MTF.





4. Install the drain plug with a new sealing washer, and refill the transmission with MTF to the proper level. Always use Honda Manual Transmission Fluid (MTF).





5. Install the filler plug (C) with a new sealing washer (D).

6. If the Maintenance Minder required to replace the MTF, reset the Maintenance Minder Description and Operation. If it did not, go to step 7.

7. Lower the vehicle.

8. Connect the Honda Diagnostic System (HDS) to the data link connector (DLC).

9. Turn the ignition switch to ON (II).

10. Make sure the HDS communicates with the vehicle and the engine control module (ECM). If it does not communicate, troubleshoot the DLC circuit Testing and Inspection.

11. Select GAUGES in the BODY ELECTRICAL with the HDS.

12. Select ADJUSTMENT in the GAUGES with the HDS.

13. Select Maintenance Minder in the ADJUSTMENT with the HDS.

14. Select MAINTENANCE SUB ITEM 3 RESET, and reset the MTF life with the HDS.