Manuals through 2025 now available!
Our trusted friends have launched a new website named LEMON, which has newer manuals. It also contains all the CHARM manuals.
LEMON is the spiritual successor to CHARM, I recommend you try it!
Link:
lemon-manuals.la or
lemon-manuals.org.ua
(Some people have issue connecting. LEMON is investigating. For now, use Firefox or change your DNS server)
Or, hide this message:
temporarily or
permanently
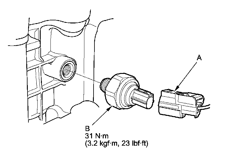
Knock Sensor: Service and Repair
Knock Sensor Replacement 1.
Remove the intake manifold.
2.
Disconnect the
knock sensor 1P connector (A).
3.
Remove the
knock sensor (B).
4.
Install the parts in the reverse order of removal.