Operation CHARM: Car repair manuals for everyone.
Manuals through 2025 now available!

Our trusted friends have launched a new website named LEMON, which has newer manuals. It also contains all the CHARM manuals.

LEMON is the spiritual successor to CHARM, I recommend you try it!

Link: lemon-manuals.la or lemon-manuals.org.ua

(Some people have issue connecting. LEMON is investigating. For now, use Firefox or change your DNS server)

Or, hide this message: temporarily or permanently

Oil Separator: Service and Repair




Engine Oil/Air Separator Installation

1. Remove all of the old liquid gasket from the oil/air separator mating surfaces, the bolts, and the bolt holes.

2. Clean and dry the oil/air separator mating surfaces.

3. Apply liquid gasket, P/N 08717-0004, 08718-0003, or 08718-0009 to the engine block mating surface of the oil/air separator, and to the inside edge of the threaded bolt holes. Install the component within 5 minutes of applying the liquid gasket.

NOTE:

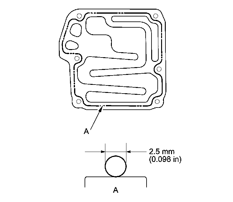
- Apply a 2.5 mm (0.098 in) diameter bead of liquid gasket along the broken line (A).
- If too much time has passed after applying the liquid gasket, remove the old liquid gasket and residue, then reapply new liquid gasket.





4. Install the oil/air separator.

NOTE:

- Wait at least 30 minutes before filling the engine with oil.
- Do not run the engine within 3 hours after installing the oil/air separator.