Operation CHARM: Car repair manuals for everyone.
Manuals through 2025 now available!

Our trusted friends have launched a new website named LEMON, which has newer manuals. It also contains all the CHARM manuals.

LEMON is the spiritual successor to CHARM, I recommend you try it!

Link: lemon-manuals.la or lemon-manuals.org.ua

(Some people have issue connecting. LEMON is investigating. For now, use Firefox or change your DNS server)

Or, hide this message: temporarily or permanently

Quarter Window Glass: Service and Repair




Quarter Glass Replacement

2-door

NOTE:

- Put on gloves to protect your hands.
- Use seat covers to avoid damaging any surface.

1. Remove these items:

- Rear seat cushion
- Quarter pillar trim Interior Trim Removal/Installation - Pillar Areas

2. Remove the front seal (A) from the front edge of the quarter glass (B). If necessary, cut the front seal with a utility knife.






3. Apply protective tape along the inside and outside edges of the body, and along the edge of the headliner. Make a hole with an awl through the adhesive from inside the vehicle. Push a piece of piano wire through the hole, and wrap each end around a piece of wood.

4. With a helper on the outside, pull the piano wire (A) back and forth in a sawing motion. Hold the piano wire as close to the quarter glass (B) as possible to prevent damage to the body, and carefully cut through the adhesive (C) around the entire quarter glass:

- If the quarter glass is to be reinstalled, take care not to damage the molding (D).
- If the molding is damaged, replace the quarter glass, molding, and clips (E) as an assembly.
- If any of the clips are broken, the quarter glass can be reinstalled with butyl tape (refer to step 11).





Cutting positions





5. Carefully remove the quarter glass.

6. Scrape smooth the original adhesive with a knife until there is a thickness of about 2 mm (0.08 in) on the bonding surface around the entire quarter glass opening flange:

- Do not scrape down to the painted surface of the body; damaged paint will interfere with proper bonding.
- Remove the clips and the fastener from the body.

7. Clean the body bonding surface with a shop towel dampened with isopropyl alcohol. After cleaning, keep oil, grease, and water from getting on the surface.

8. If you are reinstalling the original quarter glass, scrape off the original adhesive, the fasteners, and the rubber dam from the quarter glass with a putty knife. Clean the inside bonding surfaces on the face and the edge of the glass with isopropyl alcohol. Make sure the bonding surface is kept free of water, oil, and grease.

9. Set the quarter glass in the opening. Make an alignment mark (A) to the quarter glass with a grease pencil as shown where the clip will be installed.





10. Remove the quarter glass.

11. If you are reinstalling the original quarter glass (and either clip is broken off the molding), apply a light coat of primer, then apply butyl tape (A) to the molding (B) as shown. Attach the clip (C) with adhesive tape to the inside face of the quarter glass (D):

- Make sure the clip line up with alignment mark (E) you made in step 9.
- Be careful not to touch the quarter glass where the adhesive will be applied.
- Do not peel the separator off of the butyl tape.





12. Attach the front seal (A) with the adhesive tape (B) onto the molding (C).

NOTE: Be careful not to touch the quarter glass where the adhesive will be applied.






13. If you are reinstalling the original quarter glass (and either clip is broken off the molding), seal the body holes with pieces of urethane tape (A). Then set the quarter glass upright in the opening, and make alignment marks (B) across the quarter glass and body with a grease pencil at the three points shown.

NOTE: Be careful not to touch the quarter glass where the adhesive will be applied.









14. Remove the quarter glass.

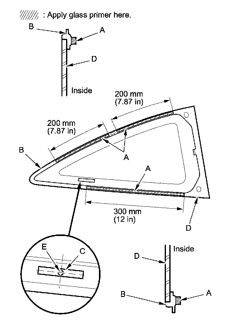
15. Apply a light coat of glass primer along the edge of the front seal (A) and the molding (B) as shown, then lightly wipe it off with gauze or cheesecloth:

- Apply the glass primer to the corner areas of the quarter glass(C) using the printed dots (D) on the quarter glass as a guide.
- Do not apply body primer to the quarter glass, and do not mix up the body and glass primer applicators.
- Never touch the primed surfaces with your hands. If you do, the adhesive may not bond to the quarter glass properly, causing a leak after the quarter glass is installed.
- Keep water, dust, and abrasive materials away from primed surfaces.





16. Carefully apply a light coat of body primer to any exposed paint or metal around the flange where new adhesive will be applied. Let the body primer dry for at least 10 minutes:

- Do not apply body primer to any remaining adhesive on the flange.
- Be careful not to mix up the body and glass primer applicators.
- Never touch the primed surfaces with your hands.





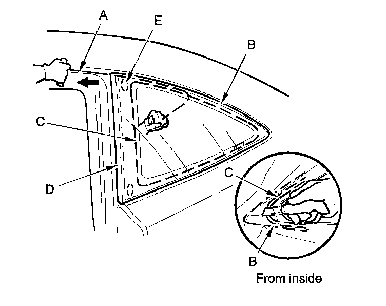
17. Cut a "V" in the end of the nozzle (A) on the adhesive cartridge as shown.






18. Put the cartridge in a caulking gun, and run a continuous bead of the adhesive (A) around the edge of the front seal (B) and the molding (C) as shown. With the glass primer (D) you applied in step 15 on the quarter glass (E) as a guide, apply the adhesive to the upper and the lower corner areas of the quarter glass.

NOTE: Apply the adhesive within 30 minutes after applying the glass primer. Make a slightly thicker bead at each corner.






19. Hold the quarter glass (A) with suction cups over the opening, align the clips or the alignment marks (B) made in step 13, and set it down on the adhesive. Lightly push on the quarter glass until its edges are fully seated on the adhesive all the way around.

NOTE: Do not open or close any of the doors for about an hour until the adhesive is dry.






20. Remove the excess adhesive with a putty knife or a shop towel dampened with isopropyl alcohol.

21. Wait at least an hour for the adhesive to dry, then spray water over the quarter glass and check for leaks. Mark the leaking areas, let the quarter glass dry, then seal with sealant. Let the vehicle stand for at least 4 hours after quarter glass installation. If the vehicle has to be used within the first 4 hours, it must be driven slowly.

22. Reinstall all remaining removed parts.

NOTE: Advise the customer not to do the following things for 2 to 3 days:

- Slam the doors with all the windows rolled up.
- Twist the body excessively (such as when going in and out of driveways at an angle or driving over rough, uneven roads).