Operation CHARM: Car repair manuals for everyone.
Manuals through 2025 now available!

Our trusted friends have launched a new website named LEMON, which has newer manuals. It also contains all the CHARM manuals.

LEMON is the spiritual successor to CHARM, I recommend you try it!

Link: lemon-manuals.la or lemon-manuals.org.ua

(Some people have issue connecting. LEMON is investigating. For now, use Firefox or change your DNS server)

Or, hide this message: temporarily or permanently

Removal and Replacement




Alternator Removal and Installation

Removal

1. Do the battery terminal disconnection procedure.

2. Remove the drive belt Service and Repair.

3. Remove the front grille cover Front Grille Cover Replacement.

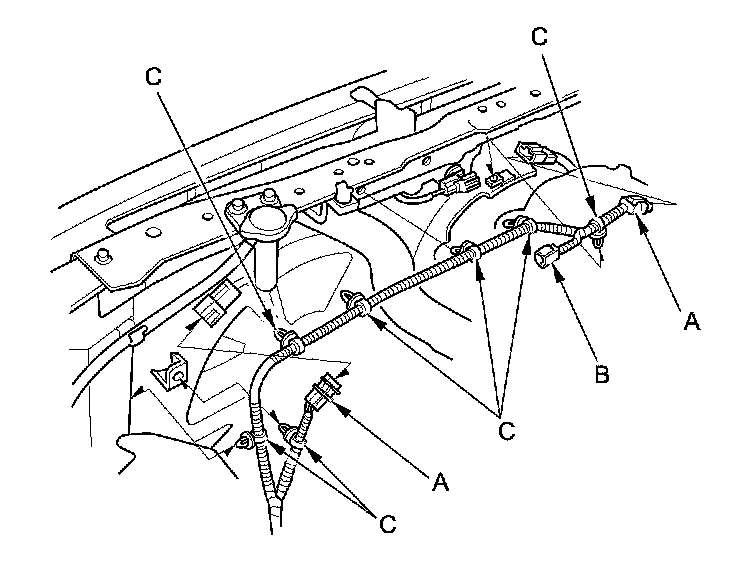
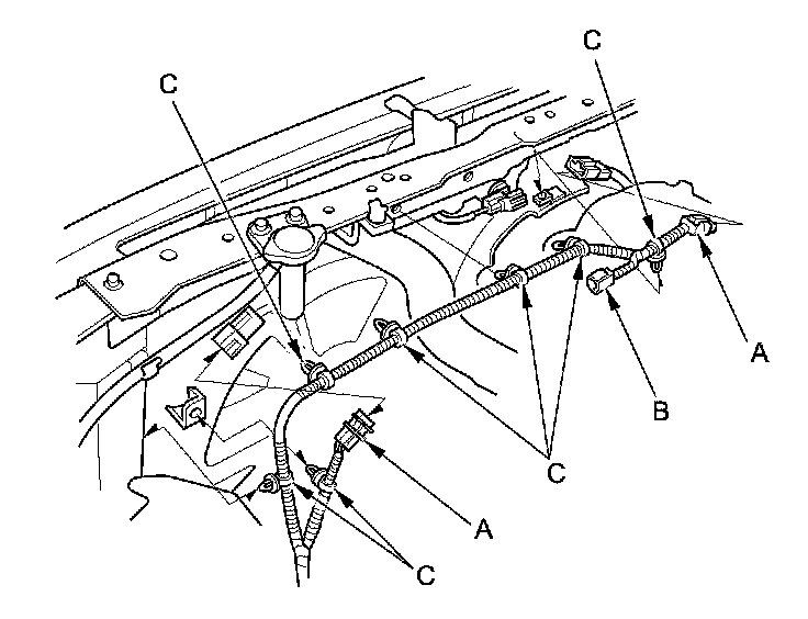
4. Disconnect the fan motor connectors (A) and the hood switch connector (B), then remove the harness clamps (C).






5. Remove the reservoir hose (A), the radiator cap base mounting bolts (B), the clips (C) and the radiator upper brackets (D).






6. Remove the condenser bracket mounting bolts (A) and the bulkhead mounting bolts (B), then remove the bulkhead (C).






7. Remove the three bolts (A) holding the alternator.






8. Disconnect the alternator connector (A) and the positive alternator cable (B) and remove the harness clamp (C), then remove the alternator.






Installation

1. Install the alternator, then connect the alternator connector (A) and positive alternator cable (B) and install the harness clamp (C). Make sure the crimped side of the ring terminal faces away from the alternator when you connect it.






2. Tighten the three bolts (A) holding the alternator.






3. Install the bulkhead (A), then install the A/C condenser bracket mounting bolts (B) and the bulkhead mounting bolts (C).





4. Apply body paint to the bulkhead mounting bolts.

5. Install the radiator upper brackets (A), the clips (B), the radiator cap base mounting bolts (C), and reservoir hose (D).






6. Connect the fan motor connectors (A) and the hood switch connector (B), then install the harness clamps (C).





7. Install the front grille cover Front Grille Cover Replacement.

8. Install the drive belt Service and Repair.

9. Do the battery terminal reconnecting procedure.