Operation CHARM: Car repair manuals for everyone.
Manuals through 2025 now available!

Our trusted friends have launched a new website named LEMON, which has newer manuals. It also contains all the CHARM manuals.

LEMON is the spiritual successor to CHARM, I recommend you try it!

Link: lemon-manuals.la or lemon-manuals.org.ua

(Some people have issue connecting. LEMON is investigating. For now, use Firefox or change your DNS server)

Or, hide this message: temporarily or permanently

Navigation System: Service and Repair




CD, DVD, and PC Card Removal/Installation

If the display will not open, use this procedure to manually open the display and remove the DVD, CD, or the PC card.

1. Remove the audio-navigation unit from the vehicle Audio-Navigation Unit Removal/Installation.

2. On the bench, carefully pull the display (A) straight out (about 1/2 inch).






3. Fold down the display as shown.






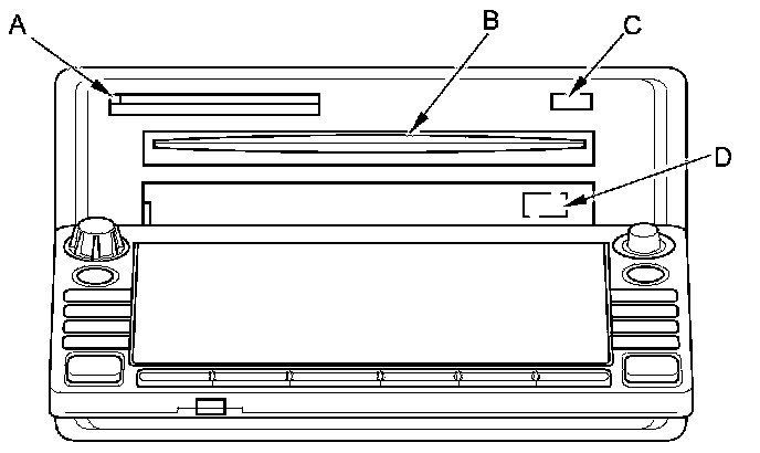
4. Press the PC card eject button (A) to eject the customer's PC card (if installed). Power is not required for this function.






5. Open the plastic cover (B) for the navigation DVD slot. Do not remove the plastic cover.

6. With the display open, temporarily reconnect the unit in the dash (to power it up).

7. Press the CD eject button (C), and navigation DVD eject button (D) and remove the discs (hold the discs by their edges to avoid fingerprints). To avoid scratches, place the navigation DVD and the customer's CD in a jewel case if available.

8. Close the plastic cover that hides the navigation DVD slot.

9. Close the display by first returning the display to the upward position, and then pushing the entire display straight back into the unit.

10. After installing the new audio-navigation unit, re-insert the navigation DVD, the customer's CD, and the PC card.