Operation CHARM: Car repair manuals for everyone.
Manuals through 2025 now available!

Our trusted friends have launched a new website named LEMON, which has newer manuals. It also contains all the CHARM manuals.

LEMON is the spiritual successor to CHARM, I recommend you try it!

Link: lemon-manuals.la or lemon-manuals.org.ua

(Some people have issue connecting. LEMON is investigating. For now, use Firefox or change your DNS server)

Or, hide this message: temporarily or permanently

Piston Ring: Service and Repair




Piston Ring Replacement

1. Remove the piston from the engine block Crankshaft And Piston Removal.

2. Using a ring expander (A), remove the old piston rings (B).





3. Clean all the ring grooves thoroughly with a squared-off broken ring, or a ring groove cleaner with a blade to fit the piston grooves. File down the blade, if necessary. The top and second ring grooves are 1.0 mm (0.04 in) wide, and the oil ring groove is 2.0 mm (0.08 in) wide. Do not use a wire brush to clean the ring grooves, or cut the ring grooves deeper with the cleaning tool.

NOTE: If the piston is to be separated from the connecting rod, do not install new rings yet.

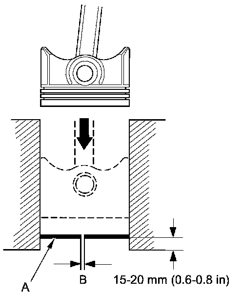
4. Using a piston, push a new ring (A) into the cylinder bore 15-20 mm (0.6-0.8 in) from the bottom.





5. Measure the piston ring end-gap (B) with a feeler gauge:

- If the gap is too small, check to see if you have the proper rings for your engine.
- If the gap is too large, recheck the cylinder bore diameter against the wear limits Testing and Inspection.
If the bore is over the service limit, the engine block must be rebored.














6. Install the rings as shown. The top ring (A) has a R mark, and the second ring (B) has a 2R mark. The manufacturing marks (C) must face upward.






7. After installing a new set of rings, measure the ring-to-groove clearances:

Top Ring Clearance





Second Ring Clearance










8. Rotate the rings in their grooves to make sure they do not bind.

9. Position the ring end gaps as shown: