Operation CHARM: Car repair manuals for everyone.
Manuals through 2025 now available!

Our trusted friends have launched a new website named LEMON, which has newer manuals. It also contains all the CHARM manuals.

LEMON is the spiritual successor to CHARM, I recommend you try it!

Link: lemon-manuals.la or lemon-manuals.org.ua

(Some people have issue connecting. LEMON is investigating. For now, use Firefox or change your DNS server)

Or, hide this message: temporarily or permanently

Side Impact Sensor (First) Replacement




Side Impact Sensor (First) Replacement

Removal

1. Do the 12 volt battery terminal disconnection procedure, then wait at least 3 minutes before starting work.

2. Slide the front seat forward fully.

3. Remove the B-pillar lower trim.

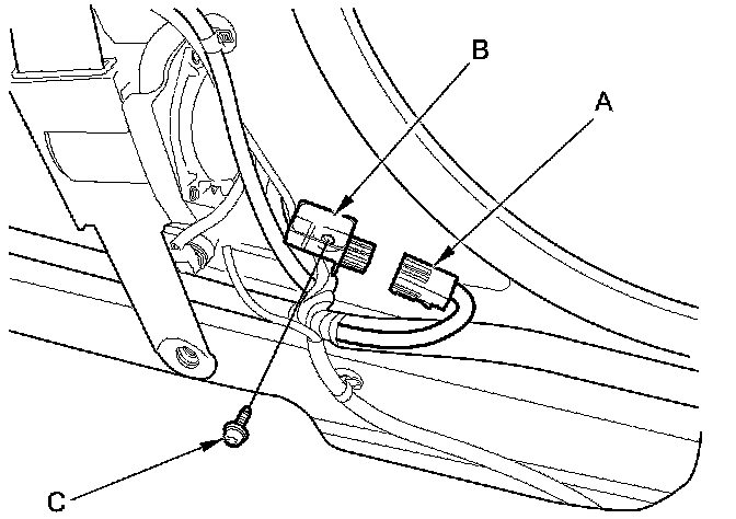
4. Disconnect the floor wire harness 4P connector (A) from the side impact sensor (first) (B).





5. Remove the TORX bolt (C) using a TORX T30 bit, then remove the side impact sensor (first).

Installation

1. Install the side impact sensor (first) with a new TORX bolt (A), using a TORX T30 bit. Connect the floor wire harness 4P connector (B) to the side impact sensor (first) (C).





2. Do the 12 volt battery terminal reconnection procedure.

3. Clear any DTCs with the HDS.

4. Confirm proper SRS operation: Turn the ignition switch to ON (II), and check that the SRS indicator comes on for about 6 seconds and then goes off.

5. Reinstall all removed parts.