Operation CHARM: Car repair manuals for everyone.
Manuals through 2025 now available!

Our trusted friends have launched a new website named LEMON, which has newer manuals. It also contains all the CHARM manuals.

LEMON is the spiritual successor to CHARM, I recommend you try it!

Link: lemon-manuals.la or lemon-manuals.org.ua

(Some people have issue connecting. LEMON is investigating. For now, use Firefox or change your DNS server)

Or, hide this message: temporarily or permanently

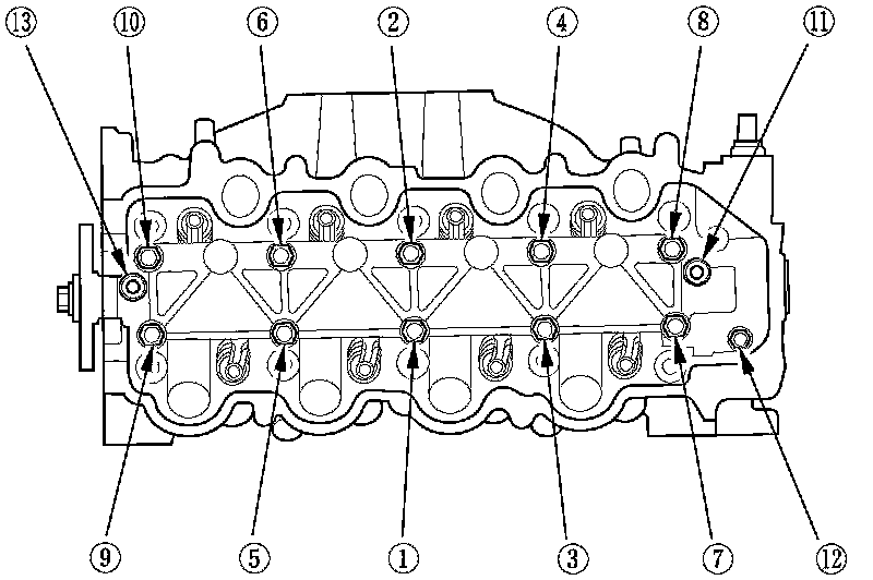
Tightening Torque And Sequence




Cylinder Head

Torque the cylinder head bolts in sequence to 29 N-m (3.0 kgf-m, 22 lbf-ft)






Tighten all cylinder head bolts an additional 130 °






Camshaft Bearing Cap










Intake Manifold Specifications

Camshaft Gear/Sprocket Specifications