Operation CHARM: Car repair manuals for everyone.
Manuals through 2025 now available!

Our trusted friends have launched a new website named LEMON, which has newer manuals. It also contains all the CHARM manuals.

LEMON is the spiritual successor to CHARM, I recommend you try it!

Link: lemon-manuals.la or lemon-manuals.org.ua

(Some people have issue connecting. LEMON is investigating. For now, use Firefox or change your DNS server)

Or, hide this message: temporarily or permanently

ATF Replacement




ATF Replacement

NOTE: Keep all foreign particles out of the transmission.

1. Park the vehicle on a level ground.

2. Warm up the engine to normal operating temperature (the radiator fan comes on), and turn the engine off.

3. Raise the vehicle on a lift, or apply the parking brake, block both rear wheels, and raise the front of the vehicle. Make sure it is securely supported.

4. Remove the ATF filler bolt and the drain plug (A), and drain the automatic transmission fluid (ATF).

NOTE: If a ATF cooler cleaning is necessary, refer to ATF Cooler Cleaning .





5. Reinstall the drain plug with a new sealing washer (B).

6. Refill the transmission with the recommended fluid through the filler hole (A). Always use Honda ATF DW-1 (ATF-Z1 has been replaced with ATF DW-1, Honda Service News Nov 2010) Automatic Transmission Fluid (ATF). Using a non-Honda ATF can affect shift quality.









7. Install the ATF filler bolt (B) and a new sealing washer (C).

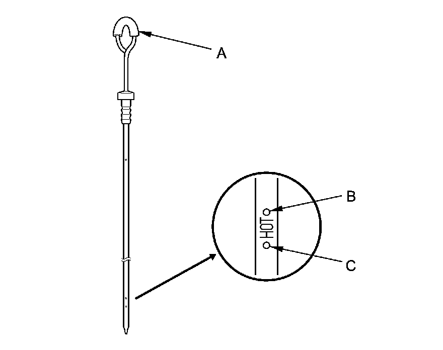
8. Remove the dipstick (A).






9. Make sure the ATF level is between the upper mark (B) and the lower mark (C) on the dipstick.

10. If the maintenance information recommends replacing the ATF, reset the maintenance information, and this procedure is complete. If the maintenance information did not require you to replace the ATF, go to step 11 and reset the ATF life with the HDS.

11. Connect the HDS to the DLC (A) located under the driver's side of the dashboard.





12. Turn the ignition switch to ON (II). Make sure the HDS communicates with the PCM. If it does not, go to the DLC circuit troubleshooting .

13. Select BODY ELECTRICAL with the HDS.

14. Select ADJUSTMENT in the GAUGE MENU with the HDS.

15. Select RESET in the MAINTENANCE INFORMATION with the HDS.

16. Select MAINTENANCE SUB ITEM 3 RESET, and reset the ATF life with the HDS.