Operation CHARM: Car repair manuals for everyone.
Manuals through 2025 now available!

Our trusted friends have launched a new website named LEMON, which has newer manuals. It also contains all the CHARM manuals.

LEMON is the spiritual successor to CHARM, I recommend you try it!

Link: lemon-manuals.la or lemon-manuals.org.ua

(Some people have issue connecting. LEMON is investigating. For now, use Firefox or change your DNS server)

Or, hide this message: temporarily or permanently

Upper Rear Window Replacement




Upper Rear Window Replacement

NOTE:

- Wear eye protection while cutting the glass adhesive with a piano wire.
- Put on gloves to protect your hands.
- Use seat covers to avoid damaging any surfaces.
- Do not damage the upper rear window defogger grid lines and terminals.

1. Remove these items:

- Tailgate upper trim
- Tailgate spoiler trim Service and Repair
- Rear wiper motor Rear Window Wiper Motor Replacement

2. Remove the upper seal (A) from the edge of the upper rear window (B). If necessary, cut the upper seal with a utility knife.






3. Disconnect the upper rear window defogger terminals (A).






4. Remove the grommet (A), and disconnect the washer tube (B), the joint tubes (C, D), and the one way valve (E). Remove the washer nozzle nut (F), then remove the washer nozzle (G).






5. Pull out the washer tube (A) from the washer tube clips (B) as shown.





6. If the original upper rear window will be reinstalled, make alignment marks across the glass and the body with a grease pencil.

7. Apply the protective tape along the inside and outside edges of the body. Make a hole with an awl or similar tool through the adhesive from inside the vehicle at a corner of the upper rear window. Push a piece of piano wire through the hole, and wrap each end around a piece of wood.

8. With a helper on the outside, pull the piano wire (A) back and forth in a sawing motion. Hold the piano wire as close to the upper rear window (B) as possible to prevent damage to the body, and carefully cut through the adhesive (C) around the entire upper rear window.






Cutting positions





9. Carefully remove the upper rear window.

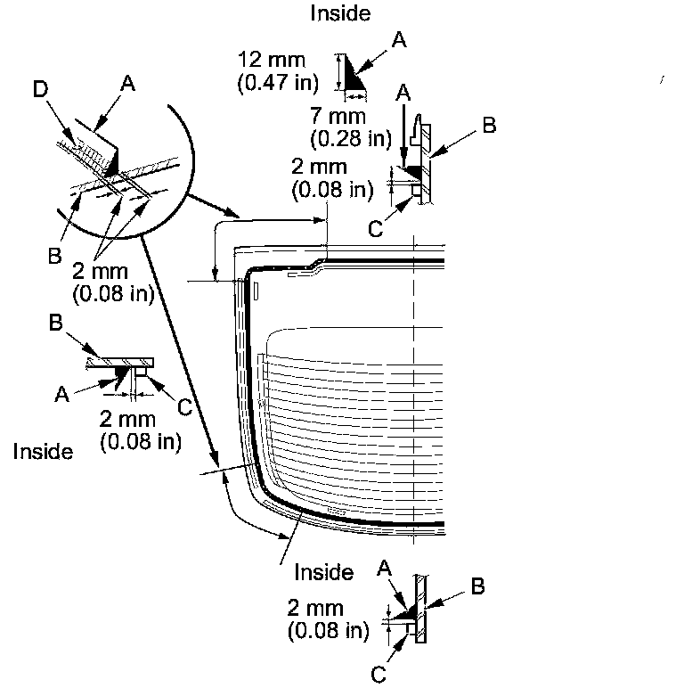
10. Scrape the original adhesive smooth to a thickness of about 2 mm (0.08 in) on the bonding surface around the entire upper rear window opening flange with a putty knife:

- Do not scrape down to the painted surface of the tailgate; damaged paint will interfere with proper bonding.
- Remove the fasteners from the tailgate.

11. Clean the body bonding surface with a shop towel dampened with isopropyl alcohol. After cleaning, keep oil, grease, and water from getting on the clean surface.

12. If you are installing the new upper rear window, install the rear wiper seal (A) to the upper rear window with its alignment mark (B) being aligned with the mark (C) on the upper rear window.






13. If you are reinstalling the original upper rear window, scrape off all of the original adhesive, the fasteners, and the rubber dams from the upper rear window with a putty knife. Clean the bonding surfaces on the inside face and the edge of the upper rear window with isopropyl alcohol. Make sure the bonding surface is kept free of water, oil, and grease.

14. Apply glass primer to the edge of the upper rear window (A) where the new upper seal (B) will be attached as shown. Attach the upper seal with the adhesive tape to the lower edge of the upper rear window:

- Be careful not to touch the upper rear window where the adhesive will be applied.
- After installing the upper seal, cut the ends (C) of the upper seal as shown.





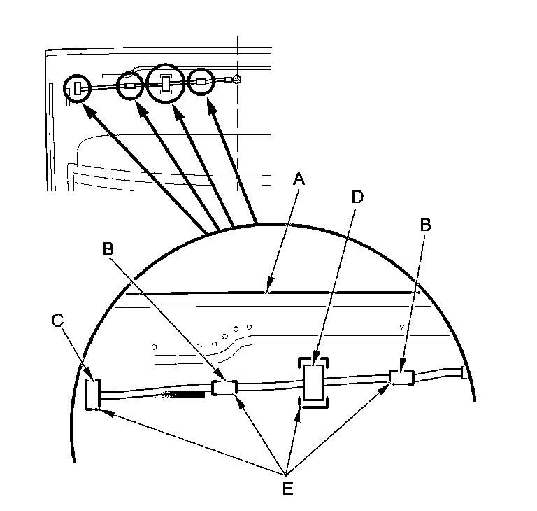
15. Apply glass primer to the fasteners (A) mounting area on the upper rear window (B), and let it dry. Attach the upper rubber dam (C), the side rubber dams (D), the lower rubber dam (E), and the fasteners with the adhesive tape to the inside face of the upper rear window as shown:

- Make sure the upper rubber dam, the side rubber dams, the lower rubber dam, and the fasteners line up with the alignment marks (F). If necessary, cut the excess rubber dams.
- Be careful not to touch the upper rear window where the adhesive will be applied.





16. Apply glass primer to the washer tube mounting area on the upper rear window (A), and let it dry. Attach the washer tube clips (B), the washer joint (C), and the sponge tape (D) with the adhesive tape to the upper rear window:

- Be careful not to touch the upper rear window where the adhesive will be applied.
- Make sure the washer tube clips, the washer joint, and the sponge tape line up with the alignment marks (E).





17. Attach the fasteners (A, B) with the adhesive tape to the tailgate (C) as shown.






18. Set the upper rear window (A) in the opening, and center it. Make the alignment marks (B) across the upper rear window and the tailgate with a grease pencil at the four points shown:

- Make sure the pins (C) of both fasteners (D) contact with the edge of the tailgate holes.
- Be careful not to touch the upper rear window where the adhesive will be applied.





19. Remove the upper rear window.

20. Apply a light coat of glass primer to the upper rear window (A) along the edge of the rubber dams (B) as shown, then lightly wipe it off with gauze or cheesecloth:

- Apply glass primer to the corner area of the upper rear window using the printed dots (C) on the upper rear window as a guide.
- Do not apply body primer to the upper rear window, and do not mix up the body and glass primer applicators.
- Never touch the primed surfaces with your hands. If you do, the adhesive may not bond to the upper rear window properly, causing a leak after the upper rear window is installed.
- Keep water, dust, and abrasive materials away from the primed surfaces.





21. Carefully apply a light coat of body primer to any exposed paint or metal around the flange where the new adhesive will be applied. Let the body primer dry for at least 10 minutes:

- Do not apply body primer to any remaining original adhesive on the flange.
- Be careful not to mix up the body and glass primer applicators.
- Never touch the primed surfaces with your hands.





22. Cut a "V" in the end of the nozzle (A) on the adhesive cartridge as shown.






23. Put the cartridge in a caulking gun, and run a continuous bead of the adhesive (A) to the upper rear window (B) along the edge of the rubber dams (C) as shown:

- Use the printed dots (D) as a guide when you apply the adhesive to the corners of the upper rear window.
- Apply the adhesive within 30 minutes after applying the glass primer.
- Make a slightly thicker bead at each corner.





24. Hold the upper rear window with suction cups over the opening, align it with the alignment marks you made in step 18, and set it down on the adhesive. Lightly push on the upper rear window until its edges are fully seated on the adhesive all the way around.

NOTE: Do not open or close any of the doors for about an hour until the adhesive is dry.

25. Remove the excess adhesive with a putty knife or a shop towel dampened with isopropyl alcohol.

26. Wait at least an hour for the adhesive to dry, then spray water over the upper rear window, and check for leaks. Mark the leaking area, let the upper rear window dry, then seal with sealant. Let the vehicle stand for at least 4 hours after upper rear window installation. If the vehicle has to be used within the first 4 hours, it must be driven slowly.

27. Reinstall all remaining removed parts.

NOTE: Advise the customer not to do the following things for 2 to 3 days:

- Slam the doors with all the windows rolled up.
- Twist the body excessively (such as when going in and out of driveways at an angle or driving over rough, uneven roads).