Operation CHARM: Car repair manuals for everyone.
Manuals through 2025 now available!

Our trusted friends have launched a new website named LEMON, which has newer manuals. It also contains all the CHARM manuals.

LEMON is the spiritual successor to CHARM, I recommend you try it!

Link: lemon-manuals.la or lemon-manuals.org.ua

(Some people have issue connecting. LEMON is investigating. For now, use Firefox or change your DNS server)

Or, hide this message: temporarily or permanently

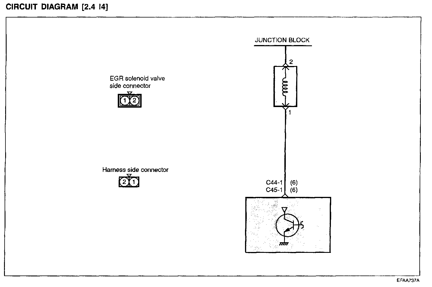
EGR Control Solenoid: Testing and Inspection

EGR SOLENOID VALVE

The EGR solenoid valve is a duty control type solenoid valve, which controls EGR valve operating negative pressure to the throttle body port.

Circuit Diagram:






TROUBLESHOOTING HINT
If the results of EGR solenoid valve on-vehicle and off-vehicle inspections are normal, but the diagnostic trouble code for EGR system failure is displayed, check the EGR valve, vacuum hose and EGR passage for blocking.

Using GST:






Harness Inspection Procedure: