Initial Inspection and Diagnostic Overview
While operating the components, check whether the operations are normal with timing chart.BCM FUNCTION
1. Vehicle speed sensing intermittent wiper
Vehicle speed is determined by number of speed sensor pulses input in one second. The current speed and the previous speed for the vehicle is to be compared. The higher of the two values is to be used in the intermittent time calculation. The previous value is updated every second.
When Ignition 2 is on and the wiper switch is in the intermittent position, the wiper shall operate with speed dependant intermittent time. A single wipe is achieved by driving the wiper relay until the park switch is able to take over unless the dwell time between wipes is too short. In this case it would be on all the time. This avoids unnecessary clicking of the wiper relay.
Time specification
T1 : Max. 0.5 sec.
T2 : 0.6-0.7 sec. (Time of wiper motor 1 rotation)
T3 : At vehicle speed = 0 km/h.
2.6±0.7 sec. (VR=0 KOhm)- 18.0±1 sec (VR=50 KOhm)
At vehicle speed = 100 km/h or more.
1.0±0.2sec (VR=0 KOhm)- 10.0±1sec (VR=50 KOhm)
2. Washer linkage wiper
IG2 must be on for this function to operate. When the washer switch is on for more than 0.3 sec, the wiper output is activated immediately. The length of time the washer switch is held for is then evaluated to determine the number of swipes required.
If the washer switch is on for more than 0.2 but less than 0.6 sec, then wiper performs a single swipe. Alternatively, if the washer switch is held for more than 0.6s then the wipers must finish the current swipe the perform another two swipes.
If washer switch is on less than 0.2 seconds make no wiper action.
During intermittent wiping, a washer linkage wipe has higher priority.
During start condition (IG1 on and IG2 off) washer in put to be ignored. This is to prevent quality problem of single wipe occurring during starting of car.
a. Time specification
T1 : 0.3 sec.
T2 : 0.6 - 0.8 sec.
(Time to complete current swipe only)
T3 : 0.2 - 0.6 sec.
b. Time specification
T1 : 0.3 sec.
T2 : 2.5 - 3.8 sec.
(Time to complete current swipe plus 2 swipes)
T3 : 0.6 sec. or more
3. Snow build up wiper bounce prevention (snow mode)
Without this feature, as snow builds up at the base of the windscreen, it becomes more difficult for the wiper arms to completely reach the park position. Once the wipers have been turned off and the wipers have returned to the park position, the compacted snow is able to drive the wiper arms back up and reactivate the park switch. This, in turn, drives the wiper arms towards park again and the cycle repeats itself.
This feature is required to prevent wiper bounce from happening when snow has accumulated on the wind-screen.
Detection of wiper bounce
If the BCM detects that the wipers have parked more than a maximum amount times within a time period then wiper bounce is detected. The maximum amount of times can be set in EEPROM using the variable wipe snow parks. The time can also be set in EEPROM using the variable wipe snow time. The units of wipe snow time is milliseconds.
Bounce prevention
If wiper bounce has been detected then the wiper bounce prevention relay is driven to open circuit. The wiper bounce relay is in series with the park switch and thus can prevent automatic parking. This relay is normally closed.
Termination of bounce prevention
Termination is achieved by ceasing to drive the wiper bounce relay to open circuit. Bounce prevention can be terminated in the following ways:
- Ignition off. The power source for the wiper motor is derived from IG2, thus there will be no drive to park with ignition off. As such bounce prevention is not required.
- The wiper stalk has moved from the OFF position.
4. Wiper motor stall protection
This feature offers some protection to the wiper motor if ice has frozen the wiper blades to the windscreen or the wipers have lammed for some other reason. During low and high wiper selection, no protection is offered since the stalk drives the wiper motor directly.
If the wiper motor has not parked within wipe stall time, then wiper motor is considered to have stalled. In this case, the wiper bounce relay is driven to open circuit until either of the following events occurs:
- The ignition has been switched to the off position.
- The wipers have returned the park position by a manual operation (Low or high speed selected)
- The wiper stalk has moved from the OFF position.
Wipe stall time can be set in EEPROM and it's units are 100 ms.
During INT operation, if the time between initiating and concluding a wipe is greater than Wipe stall time then the wiper motor is also considered to have stalled. In this case, the current wipe is terminated and INT operation is cancelled until either of the following events occurs:
- The wiper stalk has moved from the OFF position.
- The ignition has been switched off.
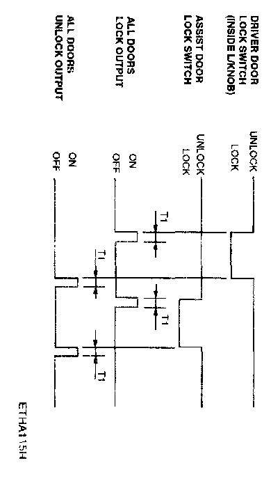
5. Knob activated central locking
If either the drivers door lock or the assistant door lock is moved from the locked position to the unlocked p0sition then all other door locks will follow, but the tailgate will not change state. Conversely, if the drivers door lock or the assistant door lock is moved from the unlocked position to the locked position then all other door locks will follow. Locking and unlocking is achieved by driving the door lock motors in the respective direction for 0.5 seconds.
Installation of the battery should not change the state of the locks.
6. Ignition key reminder (Locking of key in vehicle prevention)
If the key is in the ignition and the driver's door or assist door is open and the vehicle is locked using driver's knob or assist knob, then the central locking system will issue an unlock pulse of duration 1 second to the all doors thus preventing locking of the vehicle. It a Knob remains locked, then the central locking shall issue a maximum of 3 pulses of 0.5 second duration to unlock the vehicle. If during these pulses, the door look knob becomes unlocked, stop the next pulse.
If vehicle speed is greater than 3 km/h, ignition key reminder function is disabled.
If door warning switch is off and ignition input is on then ignition key reminder function is disabled.
7. Key operated warning (key in ignition reminder chime)
If the key is in ignition key cylinder and the drivers door is opened, the chime bell sounds. This tone is the same as the seatbelt warning chime and over speed warning chime. The chime sound is generated with a 800 Hz drive, amplitude modulated with an exponentially decaying envelope of Lime constant 1±0.25 seconds. If the door is closed or the key is removed, the chime stops immediately.
8. Crash detection - Unlock
If IG1 is on and a crash signal is received, send an unlock pulse to the door locks. Unlock signal must occur within 12.5 msec after crash signal is received. Unlock pulse is 5 sec period. If crash unlock is not used in a particular variant then the crash input is to be left floating.
The crash sensor is normally high. A crash signal is defined as when voltage is below 1.5 V. Crash input signal characteristic: Normal hi & 200 msec period ground after crash. Only one crash unlock can occur during one ignition on cycle.
9. Auto light control
Lights must be turned on 500±100 msec. after the input light to the light sensor has been received.
Lights must be turned off 3±1 sec. after the input light to the light sensor has been removed. Head lamps must be turned off 300 msec before the tail lamps are switched off. When the headlight switch is in the auto position and light intensity fulfilling the table below is detected, the tail lamp and the head lamps will be turned on. These figures are based upon the use of untinted solar glass.
The headlamps must remain on when the headlamp switch is rotated from the ON to the AUTO position until such time that the light sensor input is evaluated as per the following table.
If the option select input is grounded, both the headlamps and the tail lamps shall illuminate when the voltage drops below the tail lamp threshold. When the voltage rises above the tail lamp threshold, both the headlamps and the tail lamps shall extinguish.
10. Tail lamp auto cut
When key is in the ignition key cylinder and tail lamp switch is on, followed by removing key from ignition and then opening of the drivers doors will turn off the tail lamp relay. If driver door is opened first, followed by removing key from ignition, then tail lamp is switched off.
If tail lamps have been cut automatically, and then the tail lamp switch is turned off and on, then tail lamp is switched on and auto cut function is cancelled. If tail lamps have been cut automatically, and the ignition key is inserted, then tail lamps are turned on.
11. Power window timer
When Ignition 2 is on, the power window relay output is turned on.
When Ignition 2 is turned off the power window feed is maintained on for 30 seconds and then turned off. If the driver door or assist door is opened during 30 Sec interval the output shall be turned off immediately. If doors are open and ignition 2 is then turned on, the output shall be turned on immediately. If doors are open and ignition 2 is then turned off, the output shall be turned off immediately.
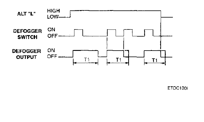
12. Rear defog control (Rear demister control)
When the engine is running (Alternator "L" is high) a contact of the rear defog switch (momentary action) will switch the rear defog relay output on for 20 minutes duration.
If the rear defog switch is pressed again during this time, or if the engine stops, the rear detog relay is immediately switched off.
13. Ignition key hole illumination
When the drivers door is open, the ignition key illumination is turned on.
When driver door is closed, illumination is on for 10 sec., then off.
When the assist door is open, the ignition key illumination is turned on.
When assist door is closed, illumination is on for 10 sec., then off.
The key illumination is extinguished immediately when the ignition 1 comes on.
Locking of the vehicle from the transmitter (arm state) shall extinguish ignition key Illumination.
14. Decayed room lamp (Illuminated entry with fade out)
When the first door (driver, or assist) is opened, the interior light shall brighten to full intensity in less than 0.5 seconds.
When the last door is closed, the room lamp will drop to 75% intensity then fade out over 5.5±0.5 seconds. If the ignition 2 is switched on when room light is fading out, the room lights switch off immediately.
If the door open signal is on for less than 0.1 seconds, then no illumination occurs.
Lamps must not flicker during fade operation, If a door open or ignition on.
When transmitter (TX) unlock is received, room lamps are turned on in less than 0.5 second for maximum 30 seconds.
While room lamp is on due to TX unlock, it another TX unlock is received, then room lamp is again on for 30 sec.
When TX lock(arm state) is received during 30 second from TX unlock, lamp is turned off immediately. If TX look (arm state) is received during fade out, the room lamp is switched off immediately.
Door locking functions should not be influenced by room lamp decay functions.
15. Seat belt warning
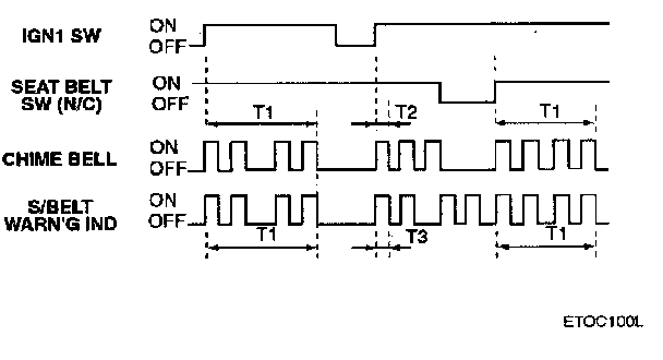
1. Seat belt warning indicator
Whenever the ignition 1 is turned on the seat belt warning indicator is illuminated for total time 6 seconds, with period 0.6 sec and duty rate 50%. It is not extinguished if the seat belt is sensed as fastened.
If ignition 1 is already on and the seat belt is removed, the indicator is illuminated for total time 6 seconds, with period 0.6 sec and duty rate 50%. If ignition 1 is switched off in while the indicator is illuminated, the illumination is switched off immediately.
2. Seat belt warning chime
Whenever the ignition 1 is turned on the seat belt warning chime is sounded for total time 6 seconds, with period 0.9 sec and duty rate 50%. It is silenced immediately if the seat belt is sensed as fastened.
If ignition 1 is already on and the seat belt is removed, the chime is sounded for total time 6 seconds, with period 0.9 sec and duty rate 50%.
If ignition 1 is switched off in while the chime is sounding, the chime is switched off immediately.
Time Specification
T1 : 6±1sec.
T2 : 0.45±0.1sec.
T3 : 0.3±0.1sec.
16. Over speed warning chime
If the IGN2 is on, and the over speed input is grounded by cluster, chime is sounded until over speed input by cluster is opened.
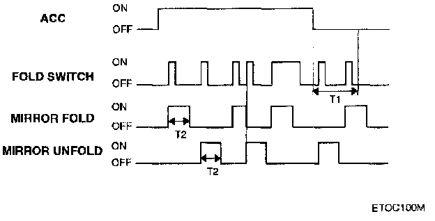
17. Folding mirror unit
If ACC is on, with each press of the folding mirror switch, the mirror fold and unfold outputs will operate alternatively for 16±6 sec. A second press of the fold switch during an output shall cause the opposite output to occur.
If the folding mirror switch is pressed within 30 seconds after the ACC signal is removed, the mirror outputs (folding or unfolding) will operate for 16±6 sec. If during the mirror operation, the folding mirror switch is pressed again then the opposite operation will commence again. If after the ACC signal is removed, the folding mirror switch is repressed within the 16±6 sec, the mirror outputs will operate for a further 16±6 sec.
Time Specification
T1 : 30 sec.
T2 : 16±6sec.
18. Rear fog lamp control
When IGN1 is on and:
- Tail lamps are on by switch or auto light
- Headlamps are on by switch or auto light or front fog switch is on, then if rear fog switch is contacted the rear fog lamps are turned on.
ANTI-THEFT FUNCTION
1. Arm function
Pressing the remote key lock button will result in a 0.5-second pulse issued to lock all doors.
Pressing the remote keypad unlock button once will result in a 0.5-second unlock pulse issued to unlock all doors.
As part of the arming sequence the alarm first enters a pro-armed state before falling into the armed state. During this pro-armed state alarm triggers are ignored. Pre-armed state can be reached from the alarmed state, the start inhibit state or the disarmed state. Pre-Arming of the alarm can be achieved by a press of the lock button on the remote key.
In the pro-armed state the visible and audible warnings are disabled.
This system enters the armed state if it is in the pro- armed state and, after 0.6 sec, check actuator lock and each door, hood and tail gate close, and no door warning switch (no key in ignition).
On entering the arm state, a single flash of the hazard lamps is given, period of cycle 2 second, duty rate 50%.
If TX lock signal is received when a door, tail gate or hood is open, then lock output is given and a flash of hazard is not given.
After the armed state is entered, if a look signal is received then a single flash of the hazard lamps is given, period of cycle 2 second, duty rate 50%.
The armed state cannot be reached by locking the car with the keys.
2. Disarm function
Disarming can performed while the alarm is armed, or alarming, or alter alarming. The alarm can be disarmed by the following methods:
- Pressing the unlock button on the TX key. The hazard lamps shall be flashed twice for 1 sec period (of cycle), 50% duty rate.
- If door warning switch is on, IGN1 and IGN2 are on in arm state, then arm state should be immediately cancelled. This means that the driver is inside the vehicle before pushing TX lock, so system should not arm.
In the disarm state the visible and audible warnings are disabled and start is enabled.
In the disarm state, it TX key unlock command is received, then the hazard lamps shall be flashed twice for period of cycle 1 sec, 50% duty rate.
Disarm state cannot be reached using the door locks by key.
Time Specification
T1, T2: 0.5±0.1sec.
3. Alarm function
1. European countries Once armed, should my door, hood or the tailgate be opened, then:
- Start relay drive output is disabled, so starting is inhibited.
- Audible (horn) and visual (hazard lamp) warnings are issued, for 27 seconds duration. The horn warning is continuously occurring in this period. The hazard lamps operate with 1 sec period, 50 % duty rate.
The alarm is given in the case where a door is opened with a key.
Time Specification
T1: 27±2sec.
T2: 0.5±0.1sec.
2. Non European countries
Once armed, should any door, hood or the tailgate be opened, then:
- Start relay drive output is disabled, so starting is inhibited.
- Audible (horn) and visual (hazard lamp) warnings are issued, for three cycles, each cycle 27±1 sec duration on, 10±1 sec. off. The horn warning is continuously occurring during the on period. The hazard lamps operate with 1 sec period, 50 % duty rate during the on period.
The alarm is given in the case where a door is opened with a key After this time, the system maintains the start inhibit state, where no audible and visual warnings are issued but engine starting is not possible.
4. Operation during alarm conditions
1. Cancelling audible alarm with the remote transmitter
CASE 1: Door closed
During or after alarming and then closing all doors and a TX lock signal is received Then
- The lock command is executed with 0.5 sec. ON
- Horn and start inhibition are OFF
- Hazard lamp is flashed one time (period : 2 sec., duty: 50%, within 2 sec.)
- The state goes to arming mode (after a lock state check)
- The start is enabled
Time specification
T1 : 0.5 sec.
T2: 1.0±0.2 sec.
CASE 2 : Door Open
During or after alarming, with a door open and a
TX lock signal is received Then
- The lock command is executed with 0.5 sec. ON
- Horn is disabled and start is enabled after confirmation of actuator lock
At this time, when the door is closed,
- Hazard lamp is flashed one time (period : 2 sec., duty 50%)
- The state goes to arming mode
Time specification
T1 : 0.5 sec.
T2 : 1.0±0.2 sec.
2. New alarm conditions
Second alarm condition during alarming.
When another alarm occurs during alarming, the starting is disabled, and the alarm continues to sound for the remained time of warning signal. The alarm continues to sound after the second alarm condition is removed.
New alarm condition occurs after alarming (with all entrances closed)
If any entrance is opened again then
- The horn is ON 3 times (EC area: one time for 27sec.)
- Start is disabled
- Hazard lamps flash during the ON time of horn
New alarm condition occur after alarming (with any entrance open).
If another entrance is opened, the BCM keeps start disabled and there is no horn output.
3. Key operation during alarm
After the alarm state or start inhibit state are entered, if door warning switch on (key in ignition) & IGN 2 ON, if IGN 2 state is changed to OFF within 30 sec, remain in alarm state.
4. Disarming using the key
During alarming, in case that door warning switch (key in) is ON and then IGN1 and IGN2 are both ON for 30 sec continuously, the alarm is cancelled, and the system enters the disarm state. After alarming, in case that doer warning switch (key in) is ON and then IGN1 and IGN2 are both ON for 30 sec continuously, the alarm is cancelled, and the system enters the disarm state.
5. Alarm state in power down
If the battery is disconnected to the BCM in the following states:
- Alarm
- After alarming
Upon restoring the battery, the alarm state shall be entered and the alarm cycle shall restarted (timer reset to 0).
If the battery is disconnected in arm state, upon restoring the battery, arm state is resumed.
6. Automatic relocking
If either:
a. Car is unlocked but all doors closed, or
b. Car is closed and locked by keys, or
c. Car is closed, locked and in armed state.
Then if an unlock command sent from the TX key is received by the BCM, and within 30 seconds no door, hood or tail gate has been opened or TX lock received, then the BCM will instigate a lock doors function and enter arm state. A single flash of the hazard lamps is given, period of cycle 2 second, duty rate 50%.
If another unlock command is sent within this time then reset timer.
If a door is already open and an unlock command is received, then the auto relocking function shall be disabled. Even in the case where the door is closed within 30 seconds.
7. Tail gate alarm triggers
During the armed state, if the tail gate is opened by the key switch, the car remains in the armed state and does not enter the alarm state. Whilst the tailgate is open, the hood, drivers and passenger doors are still armed and capable of causing an alarm trigger. Once the tail gate is closed, the tailgate trigger rearms after two seconds. If the interior tailgate release switch is pressed whilst the car is armed and the tailgate has been closed and armed, the alarm state will be entered.
If the tailgate is unlocked and not opened within 25 seconds, the tailgate will once again be armed and capable of trigger.