Operation CHARM: Car repair manuals for everyone.
Manuals through 2025 now available!

Our trusted friends have launched a new website named LEMON, which has newer manuals. It also contains all the CHARM manuals.

LEMON is the spiritual successor to CHARM, I recommend you try it!

Link: lemon-manuals.la or lemon-manuals.org.ua

(Some people have issue connecting. LEMON is investigating. For now, use Firefox or change your DNS server)

Or, hide this message: temporarily or permanently

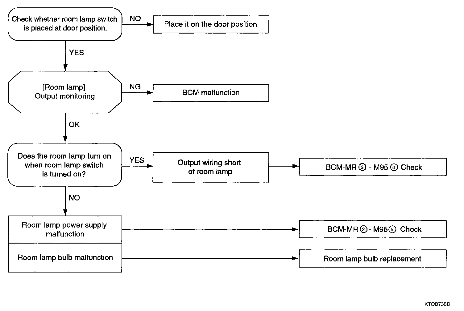
Fade Out Room Lamp Function

FADE OUT ROOM LAMP

1. Function explanation: It turns on when door is opened, and fades out after 5 or 6 seconds when closed.

2. Related schematic diagrams
- See the Courtesy & Luggage Room Lamp.


3. Input/output signal
- Fuse F18 (10 A)
- Input Door switch (F11)
- Output Room lamp (M3)







4. Related Hi-scan(pro) failure diagnosis
1. Input/output monitoring
Select "04. DOOR" and press [ENTER]. Then the following screen will be displayed.

Check BCM input/output condition against all door switches and room lamp.







2. Actuator inspection
Select "02 OUTPUT ACTUATION" and press [ENTER].

Perform forced drive against room lamp.

5. Expected failure symptoms.
Room lamp does not work.




6. Actions by failure symptoms Room lamp does not work.