Power Windows Function
POWER WINDOW1. Input/output signal
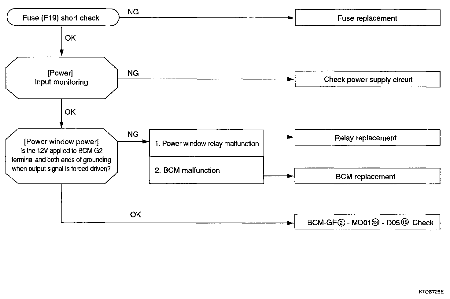
- Fuse : F19 (30 A)
- Output: Power window output (G2)
2. Related schematic diagrams
- See the Power Windows.
3. Input/output signal
- Fuse: F19 (30 A)
- Output: Power window output (G2)
4. Related Hi-scan(pro) failure diagnosis
1. Input/output monitoring
1. Select "01.POWER" and press [ENTER] Then the following screen will be displayed.
Check BCM input condition against key state -ON or ST, key state - ON.
2. Select "07 ETC" and press [ENTER]. Then, the following screen will be displayed.
Check output condition against power window relay.
2. Actuator inspection
Select "02 OUTPUT ACTUATION" and press [ENTER].
Perform forced drive against power window power supply.
5. Expected failure symptoms
Power is not supplied to power window switch.
NOTE: As for the power window motor malfunction, refer to power window motor circuit.
6. Actions by failure symptoms
Power is not supplied to power window switch.