Operation CHARM: Car repair manuals for everyone.
Manuals through 2025 now available!

Our trusted friends have launched a new website named LEMON, which has newer manuals. It also contains all the CHARM manuals.

LEMON is the spiritual successor to CHARM, I recommend you try it!

Link: lemon-manuals.la or lemon-manuals.org.ua

(Some people have issue connecting. LEMON is investigating. For now, use Firefox or change your DNS server)

Or, hide this message: temporarily or permanently

System Specifications


REGULATOR VALVE:







OIL PUMP:






OIL PUMP
Body to outer rotor radial clearance 0.114 - 0.200 mm (0.0045 - 0.0079 inch)
Inner rotor to outer rotor tip clearance Below 0.18 mm (0.0071 inch)
Body to inner rotor axial clearance 0.030 - 0.070 mm (0.0012 - 0.0028 inch)
Body to outer rotor axial clearance 0.030 - 0.090 mm (0.0012 - 0.0035 inch)
Inner rotor to brazed portion of housing clearance 0.045 - 0.091 mm (0.0018 - 0.0036 inch)


OIL PUMP:






Oil pump 8.1 - 9.5 Nm (0.83 - 0.96 kg-m, 72 - 84 inch lbs.)
Oil pump cover 5.9 - 7.9 Nm (0.61 - 0.80 kg-m, 53 - 69 inch lbs.)





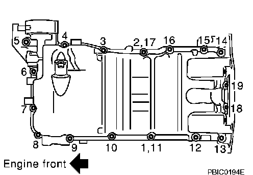
OIL PAN AND OIL STRAINER:






OIL PAN







M6 bolt 8.2 - 9.5 Nm (0.83 - 0.97 kg-m, 72 - 84 inch lbs.)
M8 bolt 19.6 - 23.5 Nm (2.0 - 2.4 kg-m, 15 - 17 ft. lbs.)


Oil strainer 19.6 - 23.5 Nm (2.0 - 2.4 kg-m, 15 - 17 ft. lbs.)



OIL FILTER
Oil filter: 14.7 - 20.6 Nm (1.5 - 2.1 kg-m, 11 - 15 ft. lbs.)



Oil pan drain plug 29.4 - 39.2 Nm (3.0 - 4.0 kg-m, 22 - 28 ft. lbs.)



Oil pressure switch: 12.3 -17.2 Nm (1.25 - 1.75 kg-m, 10 - 12 ft. lbs.)