Operation CHARM: Car repair manuals for everyone.
Manuals through 2025 now available!

Our trusted friends have launched a new website named LEMON, which has newer manuals. It also contains all the CHARM manuals.

LEMON is the spiritual successor to CHARM, I recommend you try it!

Link: lemon-manuals.la or lemon-manuals.org.ua

(Some people have issue connecting. LEMON is investigating. For now, use Firefox or change your DNS server)

Or, hide this message: temporarily or permanently

Cylinder Block

CYLINDER BLOCK:




CYLINDER BLOCK DISASSEMBLED:






CYLINDER BLOCK


Crankshaft Pulley bolt 84 - 93 Nm (8.5 - 9.5 kg-m, 62 - 68 ft. lbs.)

Cylinder block drain plug 14.7 - 24.5 Nm (1.5 - 2.5 kg-m, 11 - 18 ft. lbs.)



Available Piston:




Piston Ring:




Piston Pin:




Piston Selection Table:





PISTON, PISTON RING AND PISTON PIN



CONNECTING ROD:






CONNECTING ROD



CRANKSHAFT Part 1 Of 2:




CRANKSHAFT Part 2 Of 2:






CRANKSHAFT
Crankshaft Pulley bolt 84 - 93 Nm (8.5 - 9.5 kg-m, 62 - 68 ft. lbs.)



MAIN BEARING:




MAIN BEARING:




MAIN BEARING / Undersize:




MAIN BEARING / Bearing Clearance:




MAIN BEARING / Undersize:






Main Bearings Selection Table (No. 1 and No. 5 journal):




Main Bearings Selection Table (No. 2, 3 and 4 journal):





Main Bearings Grade Table (All Journals):




Main Bearings Grade Table (All Journals):






MAIN BEARING

Main bearing clearance

Standard
No. 1 and 5 0.001 - 0.011 mm (0.00004 - 0.0004 inch)
Standard No. 2, 3 and 4 0.007 - 0.017 mm (0.0003 - 0.0007 inch)

Limit
No. 1 and 5 0.021 mm (0.0008 inch)
No. 2, 3 and 4 0.027 mm (0.0011 inch)


CONNECTING ROD BEARING:




CONNECTING ROD BEARING / Undersize:




CONNECTING ROD BEARING / Bearing Clearance:






CONNECTING ROD BEARING



Rod Bearing Cap Bolts







Tighten the connecting rod nuts as follows:







Apply engine oil to the threads and seats of the connecting rod bolts and nuts.

Tighten nuts to 13.7 to 15.7 Nm (1.4 to 1.6 kg-m, 10 to 12 ft. lbs.).

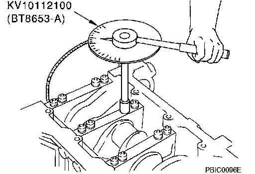
Put mating (with paint) on each nut and connecting rod cap, all in the same direction (when using a protractor).

Then all nuts 60 to 65 degrees clockwise [target: 60 degrees] (angle tightening).

CAUTION: Always use either an angle wrench or protractor. Avoid tightening based on visual check alone.




BEARING CAP BOLTS






a. Apply engine oil to threads and seating surface of bolts, and tighten all bolts temporarily.
b. Tighten main bearing cap bolt (M12) to 36.3 to 42.1 Nm (3.7 to 4.3 kg-m, 27 to 31 ft. lbs.) in order of 1 to 10.
c. Tighten main bearing cap sub bolt (M9) to 26.5 to 32.3 Nm (2.7 to 3.3 kg-m, 20 to 23 ft. lbs.) in order of 11 to 20.
d. Tighten main bearing cap bolt (M12) to 40 to 45° degrees (ideal 40 degrees) in order of 1 to 10.
e. Tighten main bearing cap sub bolt (M9) to 30 to 35° degrees (ideal 30 degrees) in order of 11 to 20.
f. Tighten side bolt (M10) to 46.1 to 51.9 Nm (4.7 to 5.3 kg-m, 34 to 38 ft. lbs.) in order of 21 to 30.
g. Install cover of cylinder block left-rear side (next to starter motor housings





CAUTION: Measure tighten angle in step "d" and "e" with angle wrench. Do not measure visually.