Operation CHARM: Car repair manuals for everyone.
Manuals through 2025 now available!

Our trusted friends have launched a new website named LEMON, which has newer manuals. It also contains all the CHARM manuals.

LEMON is the spiritual successor to CHARM, I recommend you try it!

Link: lemon-manuals.la or lemon-manuals.org.ua

(Some people have issue connecting. LEMON is investigating. For now, use Firefox or change your DNS server)

Or, hide this message: temporarily or permanently

Service Limits & General Specifications

CRANKSHAFT END PLAY





^ Measure the clearance between thrust bearings and crankshaft arm when crankshaft is moved fully forward or backward with a dial indicator.
^ If the measured value exceeds the limit, replace thrust bearings, and measure again. If it still exceeds the limit, replace crankshaft also.

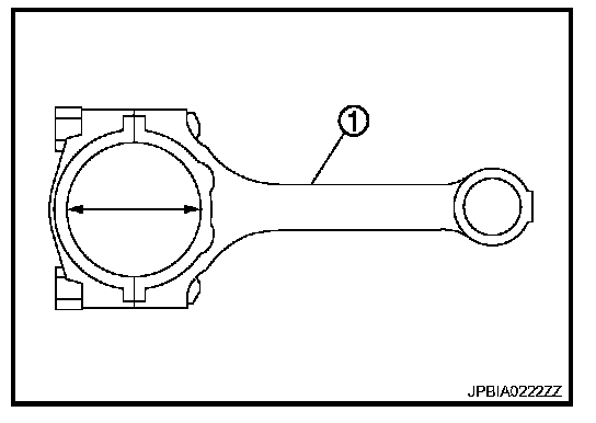
CONNECTING ROD SIDE CLEARANCE





^ Measure the side clearance between connecting rod and crankshaft arm with a feeler gauge.
^ If the measured value exceeds the limit, replace connecting rod, and measure again. If it still exceeds the limit, replace crankshaft also.

PISTON TO PISTON PIN OIL CLEARANCE

Piston Pin Hole Diameter





Measure the inner diameter of piston pin hole with an inside micrometer (A).





Measure the outer diameter of piston pin with a micrometer (A).

Piston to Piston Pin Oil Clearance
(Piston to piston pin oil clearance) = (Piston pin hole diameter) - (Piston pin outer diameter)
^ If the calculated value is out of the standard, replace piston and piston pin assembly.
^ When replacing piston and piston pin assembly, refer to EM-135, "Description". How to Select Piston and Bearing

NOTE:
^ Piston is available together with piston pin as assembly.
^ Piston pin (piston pin hole) grade is provided only for the parts installed at the plant. For service parts, no piston pin grades can be selected. (Only "0" grade is available.)

PISTON RING SIDE CLEARANCE





^ Measure the side clearance of piston ring (1) and piston ring groove with a feeler gauge (C).
A: NG
B: OK
^ If the measured value exceeds the limit, replace piston ring, and measure again. If it still exceeds the limit, replace piston also.

PISTON RING END GAP





^ Make sure that the cylinder bore inner diameter is within the specification.
^ Lubricate with new engine oil to piston (1) and piston ring (2), and then insert piston ring until middle of cylinder with piston, and measure the piston ring end gap with a feeler gauge (B).
A: Press-fit
C: Measuring point
^ If the measured value exceeds the limit, replace piston ring, and measure again. If it still exceeds the limit, re-bore cylinder and use oversize piston and piston rings.

CONNECTING ROD BEND AND TORSION





^ Check with a connecting rod aligner.
A: Bend
B: Torsion
C: Feeler gauge
^ If it exceeds the limit, replace connecting rod assembly.

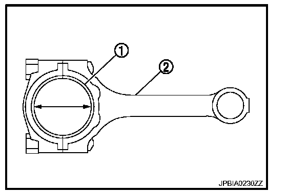
CONNECTING ROD BIG END DIAMETER





^ Install connecting rod bearing cap without installing connecting rod bearing, and tightening connecting rod bolts to the specified torque.
1: Connecting rod
^ Measure the inner diameter of connecting rod big end with an inside micrometer.
^ If out of the standard, replace connecting rod assembly.

CONNECTING ROD BUSHING OIL CLEARANCE

Connecting Rod Bushing Inner Diameter





Measure the inner diameter of connecting rod bushing with an inside micrometer (A).

Piston Pin Outer Diameter





Measure the outer diameter of piston pin with a micrometer (A).

Connecting Rod Bushing Oil Clearance
(Connecting rod bushing oil clearance) = (Connecting rod bushing inner diameter) - (Piston pin outer diameter)
^ If the calculated value exceeds the limit, replace connecting rod assembly and/or piston and piston pin assembly.





^ If replacing piston and piston pin assembly, refer to EM-135, "Description". How to Select Piston and Bearing
^ If replacing connecting rod assembly, refer to EM-136, "Connecting Rod Bearing" to select the connecting rod bearing. Connecting Rod Bearing
A: Sample codes
B: Bearing stopper groove
C: Small-end diameter grade
D: Big-end diameter grade
E: Weight grade
F: Cylinder No.
G: Management code
H: Front mark
I: Management code

Factory installed parts grading:








^ Service parts apply only to grade "0".
A: Piston grade number
B: Front mark
C: Piston pin grade number

CYLINDER BLOCK DISTORTION
^ Using a scraper, remove gasket on the cylinder block surface, and also remove engine oil, scale, carbon, or other contamination.

CAUTION: Be careful not to allow gasket flakes to enter engine oil or engine coolant passages.





^ Measure the distortion on the cylinder block upper face at some different points in six directions (C, D, E, F, G and H) with a straightedge (A) and a feeler gauge (B).
^ If it exceeds the limit, replace cylinder block.

MAIN BEARING HOUSING INNER DIAMETER





^ Install lower cylinder block (2) without installing main bearings, and tighten lower cylinder block bolts to the specified torque.
^ Measure the inner diameter of main bearing housing with a bore gauge.
^ If out of the standard, replace cylinder block (1) and lower cylinder block as assembly.

NOTE: Cylinder block cannot be replaced as a single part, because it is machined together with lower cylinder block.

PISTON TO CYLINDER BORE CLEARANCE

Cylinder Bore inner Diameter





^ Using a bore gauge, measure cylinder bore for wear, out-of-round and taper at six different points on each cylinder. [(A) and (B) directions at (C), (D) and (E)] is in longitudinal direction of engine.
f. 10 mm (0.39 in)
g. 60 mm (2.36 in)
h: 120 mm (4.72 in)





^ If the measured value exceeds the limit, or if there are scratches and/or seizure on the cylinder inner wall, hone or re-bore the inner wall.
^ Oversize piston is provided. When using oversize piston, re-bore cylinder so that the clearance of the piston-to-cylinder bore satisfies the standard.

CAUTION: When using oversize piston, use oversize pistons for all cylinders with oversize piston rings.

Oversize (O/S): 0.2 mm (0.008 in)

Piston Skirt Diameter





Measure the outer diameter of piston skirt with a micrometer (A).

Piston-to-Cylinder Bore Clearance
Calculate by piston skirt diameter and cylinder bore inner diameter [direction (B), position (D)]. (Clearance) = (Cylinder bore inner diameter) - (Piston skirt diameter).
^ If the calculated value exceeds the limit, replace piston and piston pin assembly.

Re-boring Cylinder Bore
1. Cylinder bore size is determined by adding piston to cylinder bore clearance to piston skirt diameter.
Re-bored size calculation: D = A + B - C
where,
D: Bored diameter
A: Piston skirt diameter as measured
B: Piston to cylinder bore clearance (standard value)
C: Honing allowance 0.02 mm (0.0008 in)
2. Install lower cylinder block, and tighten to the specified torque. Otherwise, cylinder bores may be distorted in final assembly.
3. Cut cylinder bores.

NOTE:
^ When any cylinder needs boring, all other cylinders must also be bored.
^ Do not cut too much out of cylinder bore at a time. Cut only 0.05 mm (0.0020 in) or so in diameter at a time.

4. Hone cylinders to obtain the specified piston to cylinder bore clearance.
5. Measure finished cylinder bore for the out-of-round and taper.

NOTE: Measurement should be done after cylinder bore cools down.

CONNECTING ROD BEARING OIL CLEARANCE

Method by Calculation





^ Install connecting rod bearings (1) to connecting rod (2) and connecting rod cap, and tighten connecting rod bolts to the specified torque.
^ Measure the inner diameter of connecting rod bearing with an inside micrometer.

(Oil clearance) = (Connecting rod bearing inner diameter) - (Crankshaft pin journal diameter)
^ If the calculated value exceeds the limit, select proper connecting rod bearing according to connecting rod big end diameter and crankshaft pin journal diameter to obtain the specified bearing oil clearance.

Method of Using Plastigage
^ Remove oil and dust on crankshaft pin journal and the surfaces of each bearing completely.
^ Cut a plastigage slightly shorter than the bearing width, and place it in crankshaft axial direction, avoiding oil holes.
^ Install connecting rod bearings to connecting rod and connecting rod bearing cap, and tighten connecting rod bolts to the specified torque.

CAUTION: Do not rotate crankshaft.





^ Remove connecting rod bearing cap and bearings, and using the scale on the plastigage bag, measure the plastigage width.

NOTE: The procedure when the measured value exceeds the limit is same as that described in the "Method by Calculation".

MAIN BEARING OIL CLEARANCE

Method by Calculation





^ Install main bearings (3) to cylinder block (1) and lower cylinder block (2), and tighten lower cylinder block bolts to the specified torque.
^ Measure the inner diameter of main bearing with a bore gauge. (Oil clearance) = (Main bearing inner diameter) - (Crankshaft main journal diameter)
^ If the calculated value exceeds the limit, select proper main bearing according to main bearing inner diameter and crankshaft main journal diameter to obtain the specified bearing oil clearance.

Method of Using Plastigage
^ Remove engine oil and dust on crankshaft journal and the surfaces of each bearing completely.
^ Cut a plastigage slightly shorter than the bearing width, and place it in crankshaft axial direction, avoiding oil holes.
^ Install main bearing to cylinder block and lower cylinder block, and tighten lower cylinder block bolts with lower cylinder block to the specified torque.

CAUTION: Never rotate crankshaft.





^ Remove lower cylinder block and bearings, and using the scale on the plastigage bag, measure the plastigage width.

NOTE: The procedure when the measured value exceeds the limit is same as that described in the "Method by Calculation".

MAIN BEARING CRUSH HEIGHT





^ When lower cylinder block is removed after being tightened to the specified torque with main bearings (1) installed, the tip end of bearing must protrude.
A: Crush height
Standard: There must be crush height.
^ If the standard is not met, replace main bearings.

CONNECTING ROD BEARING CRUSH HEIGHT





^ When connecting rod bearing cap is removed after being tightened to the specified torque with connecting rod bearings (1) installed, the tip end of bearing must protrude.
A: Crush height
Standard: There must be crush height.
^ If the standard is not met, replace connecting rod bearings.

Part 1:




Part 2:





CYLINDER BLOCK