Operation CHARM: Car repair manuals for everyone.
Manuals through 2025 now available!

Our trusted friends have launched a new website named LEMON, which has newer manuals. It also contains all the CHARM manuals.

LEMON is the spiritual successor to CHARM, I recommend you try it!

Link: lemon-manuals.la or lemon-manuals.org.ua

(Some people have issue connecting. LEMON is investigating. For now, use Firefox or change your DNS server)

Or, hide this message: temporarily or permanently

Piston, Engine

PISTON TO PISTON PIN OIL CLEARANCE
Piston Pin Hole Diameter





Measure the inner diameter of piston pin hole with inside micrometer.
Standard: 21.993 - 22.005 mm (0.8659 - 0.8663 in)

Piston Pin Outer Diameter





Measure the outer diameter of piston pin with micrometer.
Standard: 21.989 - 22.001 mm (0.8657 - 0.8662 in)

Piston to Piston Pin Oil Clearance
(Piston to piston pin oil clearance) = (Piston pin hole diameter) - (Piston pin outer diameter)
Standard: 0.002 - 0.006 mm (0.0001 - 0.0002 in)
^ If the calculated value is out of the standard, replace piston and piston pin assembly.
^ When replacing piston and piston pin assembly, refer to EM-259, "HOW TO SELECT PISTON". How to Select Piston and Bearing

NOTE:
^ Piston is available together with piston pin as assembly.
^ Piston pin (piston pin hole) grade is provided only for the parts installed at the plant. For service parts, no piston pin grades can be selected. (Only "0" grade is available.)

PISTON TO CYLINDER BORE CLEARANCE
Cylinder Bore Inner Diameter





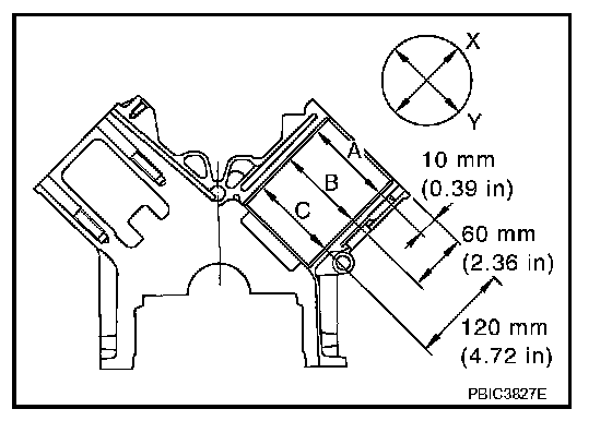
^ Using bore gauge, measure cylinder bore for wear, out-of-round and taper at six different points on each cylinder. ("X" and "Y" directions at "A", "B" and "C") ("X" is in longitudinal direction of engine)
Standard inner diameter: 93.000 - 93.030 mm (3.6614 - 3.6626 in)
Wear limit: 0.2 mm (0.008 in)
Out-of-round (Difference between "X" and "Y".: 0.015 mm (0.0006 in)
Taper limit (Difference between "A" and "C".: 0.01 mm (0.0004 in)





^ If the measured value exceeds the limit, or if there are scratches and/or seizure on the cylinder inner wall, hone or re-bore the inner wall.
^ Oversize piston is provided. When using oversize piston, rebore cylinder so that the clearance of the piston-to-cylinder bore satisfies the standard.

CAUTION: When using oversize piston, use oversize pistons for all cylinders with oversize piston rings.

Oversize (OS): 0.2 mm (0.008 in)

Piston Skirt Diameter





^ Measure the outer diameter of piston skirt with micrometer.
Standard: 92.980 - 93.010 mm (3.6606 - 3.6618 in)





^ Measure point "H" (Distance from the top): 42 mm (1.65 in)

Piston to Cylinder Bore Clearance
Calculate by piston skirt diameter and cylinder bore inner diameter (direction "Y", position "B"). (Clearance) = (Cylinder bore inner diameter) - (Piston skirt diameter).
Standard: 0.010 - 0.030 mm (0.0004 - 0.0012 in)
Limit: 0.08 mm (0.0031 in)
^ If the calculated value exceeds the limit, replace piston and piston pin assembly.

Re-boring Cylinder Bore
1. Cylinder bore size is determined by adding piston to cylinder bore clearance to piston skirt diameter.
Re-bored size calculation: D = A + B - C where,
D: Bored diameter
A: Piston skirt diameter as measured
B: Piston to cylinder bore clearance (standard value)
C: Honing allowance 0.02 mm (0.0008 in)
2. Install main bearing caps and main bearing, and tighten to the specified torque. Otherwise, cylinder bores may be distorted in final assembly.
3. Cut cylinder bores.

NOTE:
^ When any cylinder needs boring, all other cylinders must also be bored.
^ Do not cut too much out of cylinder bore at a time. Cut only 0.05 mm (0.0020 in) or so in diameter at a time.

4. Hone cylinders to obtain the specified piston to cylinder bore clearance.
5. Measure finished cylinder bore for the out-of-round and taper.

NOTE: Measurement should be done after cylinder bore cools down.

PISTON, PISTON RING AND PISTON PIN





Available Piston





Piston Ring





Piston Pin