Operation CHARM: Car repair manuals for everyone.
Manuals through 2025 now available!

Our trusted friends have launched a new website named LEMON, which has newer manuals. It also contains all the CHARM manuals.

LEMON is the spiritual successor to CHARM, I recommend you try it!

Link: lemon-manuals.la or lemon-manuals.org.ua

(Some people have issue connecting. LEMON is investigating. For now, use Firefox or change your DNS server)

Or, hide this message: temporarily or permanently

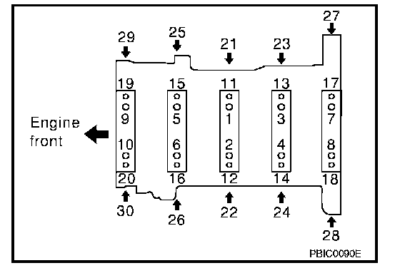
Main Bearing Cap

Main Bearing Cap





Install each main bearing cap bolt as follows:
Apply new engine oil to threads and seating surface of main bearing cap bolts, and tighten all bolts temporarily.
Tighten main bearing cap bolt (M12) in order of 1 to 10.
Torque 39.2 Nm (4.0 kg-m, 29 ft-lb)
Tighten main bearing cap sub bolt (M9) in order of 11 to 20.
Torque 29.4 Nm (3.0 kg-m, 22 ft-lb)





Tighten main bearing cap bolt (M12) to 40 degrees clockwise in order of 1 to 10. (Angle tightening)

CAUTION: Use angle wrench (SST) to check tightening angle in step "d" and "e". Do not make judgment by visual inspection.

Tighten main bearing cap sub bolt (M9) to 30 degrees clockwise in order of 11 to 20. (Angle tightening)
Tighten side bolt (M10) in order of 21 to 30.
Torque 49 Nm (5.0 kg-m, 36 ft-lb)
After installing main bearing cap bolts, make sure that crankshaft can be rotated smoothly.
Check the crankshaft end play.