Operation CHARM: Car repair manuals for everyone.
Manuals through 2025 now available!

Our trusted friends have launched a new website named LEMON, which has newer manuals. It also contains all the CHARM manuals.

LEMON is the spiritual successor to CHARM, I recommend you try it!

Link: lemon-manuals.la or lemon-manuals.org.ua

(Some people have issue connecting. LEMON is investigating. For now, use Firefox or change your DNS server)

Or, hide this message: temporarily or permanently

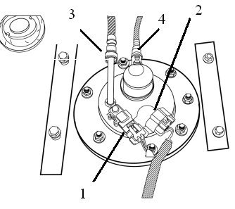
Fuel Tank Pressure Sensor: Service and Repair

Fuel Tank Pressure Sensor Replacement

Removal Procedure






2. Disconnect the fuel tank pressure sensor electrical connector(1).
3. Remove the fuel tank pressure sensor by prying it straight up with a screwdriver. Make sure not to contact the rubber seal.

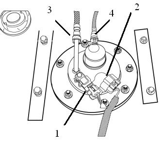
Installation Procedure






1. Ensure the fuel tank pressure sensor seal is fully seated on the fuel tank pressure sensor.
2. Lubricate the fuel tank pressure sensor seal with clean fuel.






3. Install the fuel tank pressure sensor(1) by inserting it into the cavity, then pushing straight down until it bottoms out on the fuel sender.
4. Reconnect the fuel tank pressure sensor electrical connector.
5. Install the fuel tank sender cover and attachment bolts.