Operation CHARM: Car repair manuals for everyone.
Manuals through 2025 now available!

Our trusted friends have launched a new website named LEMON, which has newer manuals. It also contains all the CHARM manuals.

LEMON is the spiritual successor to CHARM, I recommend you try it!

Link: lemon-manuals.la or lemon-manuals.org.ua

(Some people have issue connecting. LEMON is investigating. For now, use Firefox or change your DNS server)

Or, hide this message: temporarily or permanently

Fuel Tank Unit: Service and Repair

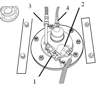
Fuel Sender Assembly Replacement

Removal Procedure






1. Remove the fuel tank. Removal and Replacement

NOTICE: Do Not handle the fuel sender assembly by the fuel pipes. The amount of leverage generated by handling the fuel pipes could damage the joints.

IMPORTANT: Do NOT use impact tools. Significant force will be required to release the lock ring. The use of a hammer and screwdriver is not recommended. Secure the fuel tank in order to prevent fuel tank rotation.

2. Remove the seven fasteners securing the fuel level sender.
3. Remove the fuel sender assembly and seal. Discard the gasket.

CAUTION: Fuel Storage Caution

5. Clean the fuel sender sealing surfaces.

Installation Procedure

IMPORTANT: Never reuse the old gasket or a fuel leak may occur. Always use a NEW gasket.

1. Install a NEW seal gasket onto the fuel tank.

IMPORTANT: Place the fuel pump strainer in a horizontal position when you install the fuel sender in the tank. When installing the fuel sender assembly, assure that the fuel pump strainer does not block full travel of the float arm.

2. Install the fuel sender assembly.

IMPORTANT: Always replace the fuel sender gasket when installing the fuel sender assembly. Do not apply any type of lubrication in the seal groove.

3. Install the seven fasteners that secure the fuel level sender.

Tighten
Tighten the seven fasteners to 10 N.m (89 lb in)






4. Install the fuel tank. Removal and Replacement