Operation CHARM: Car repair manuals for everyone.
Manuals through 2025 now available!

Our trusted friends have launched a new website named LEMON, which has newer manuals. It also contains all the CHARM manuals.

LEMON is the spiritual successor to CHARM, I recommend you try it!

Link: lemon-manuals.la or lemon-manuals.org.ua

(Some people have issue connecting. LEMON is investigating. For now, use Firefox or change your DNS server)

Or, hide this message: temporarily or permanently

Overhaul

- Remove pistons and connecting rods. Refer to Engine/Cylinder Block Assembly.

- Pistons are available in selective grades, identified by 'A' or 'B' stamped on the piston crown and the adjacent face of the cylinder liner.

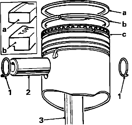
Piston And Rings:





- Remove the wrist pin circlips (1).
- Remove the wrist pin (2) and withdraw the connecting rod (3).
- Remove the piston rings.
- The top and second rings both have tapered peripheries and the second ring is marked 'TOP' to be sure of correct fitting.
- The top ring has a chrome plated periphery and is 'Cargraph' coated. The 'Cargraph' coating is colored red and must not be removed.
- The bottom ring consists of an expander sandwiched between two rails, the assembly being held together by an adhesive.

Measuring Ring End Gap:





- Insert the piston rings, one at a time, into the cylinder bores, be sure that they are square in the cylinders and check the gap using a feeler gauge. Should be as follows:

Top compression ring gap 0.360.51 mm
Second compression ring gap 0.25-0.38 mm
Oil control ring gap 0.38-1.14 mm

- If the gap is insufficient, then a small flat file carborundum stone, or ring end grinder can be used on the butting ends of the ring. Be sure that after filing no burrs remain.

NOTE: Be sure that the rings are not intermixed after they have been gapped.

- Measure the piston skirt clearance using a long feeler gauge. Insert the feeler gauge down the RH side of the cylinder bore, insert the correct piston INVERTED into the bore (with the wrist pin parallel to the axis of the crankshaft). Push the piston down the cylinder until it reaches its tightest point in the bore. At this point. withdraw the feeler gauge; a steady resistance should be felt.
- If the tolerances are outside those given below, the pistons must be replaced (as a set).

- Piston skirt clearance should be:

0.03 mm - 0.04 mm

- Fit the piston rings to the piston and check the side clearance of the rings in the piston grooves. Clearances are as follows:

Top ring 0.07 mm
Second ring 0.09 mm
Bottom ring Nil (self-expanding)

- Check the connecting rods for out of balance, twist and bend.

NOTE: If any connecting rod is bent, twisted or out of balance with the other eleven, then the complete set must be renewed.

- Check the bore of the small end bush, the correct diameter should be:

23.813-23.818 mm

NOTE: If the small end bush bore is outside the given measurements, a new connecting rod must be fitted. It is not possible to renew small end bushes without specialist equipment.

- Fit the piston to the connecting rod, so that the large chamber on the connecting rod faces the crankshaft web and the piston 'FRONT' mark faces the front of the engine.
- Align the small end with the wrist pin and push the pin home.
- Fit NEW circlips.

NOTE: The wrist pin is a push fit at 20°C (60°F). The fit may vary with ambient temperature.

- Repeat the overhaul procedure for the remaining pistons/connecting rods.
- Refit pistons and connecting rods.