Operation CHARM: Car repair manuals for everyone.
Manuals through 2025 now available!

Our trusted friends have launched a new website named LEMON, which has newer manuals. It also contains all the CHARM manuals.

LEMON is the spiritual successor to CHARM, I recommend you try it!

Link: lemon-manuals.la or lemon-manuals.org.ua

(Some people have issue connecting. LEMON is investigating. For now, use Firefox or change your DNS server)

Or, hide this message: temporarily or permanently

Disassemble



Remove the final drive unit.

Ensure that all oil is drained from the unit.

Support the unit in a vice.

Remove the ten rear cover securing bolts, remove the cover and gasket.

Remove the locking wire and five bolts securing the caliper mounting bracket on one side, and withdraw the output shaft assembly.

Repeat the procedure for the other side output shaft assembly.

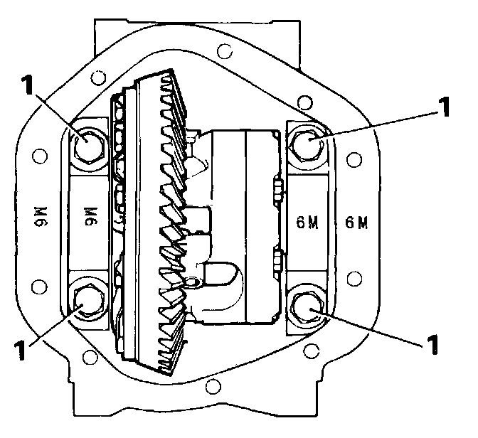
Fig.3:





Remove the two bolts (1, Fig.3) securing one side differential bearing cap, and lift out the cap from the differential housing.

Repeat for the other side differential bearing cap.

Using two suitably padded levers, pry out the differential unit.

Fig.4:





Using Service Tool 18G 1205 (1, Fig.4) to hold the drive flange, remove the pinion nut and washer and withdraw the flange (2, Fig.4).

Using a suitable press, extract the pinion.

Using Service Tool 18G 134 remove the oil seal, oil thrower and outer bearing cone.

Examine the inner and outer bearing cups for wear, if replacement is required extract the outer cup using Service Tools 18G 134 and SL 550/ 1 for inner bearing removal, carefully tap the bearing cone out with a brass punch in the cut-outs provided in the differential casing and carefully collect the shims.

Fig.1a:





Remove the pinion head bearing using Service Tools 47 (1, Fig.1a), SL 47-1 / 1 (2, Fig.1a).

Fig.2a:





Remove the differential side bearings using Service Tools 47 (1, Fig 2a), SL 14-3/2 (2, Fig.2a) and SL 14-3/ 1 (3, Fig.2a), and collect the shims.

Fig.3a:





In the absence of any alignment: marks, scribe a line across both halves of differential casing to facilitate reassembly (1, Fig.3a).

Fig.4a:





Remove the ten crown wheel bolts (1, Fig.4a) and remove the crown wheel (2, Fig.4a).

Fig.1b:





Remove the eight bolts (1, Fig.1b), securing both halves of the differential casing (2, Fig.1b).

Remove the differential side ring (3, Fig.1b).

Remove the pinion side gear and pinion cross-shafts complete with gears (4, Fig.1b).

Separate the cross-shafts (5, Fig.1b).

Remove the remaining side gear (6, Fig.1b) and ring (7 Fig.1b)

Extract the remaining clutch discs (8, Fig.1b) and plates (9, Fig.1b).

Fig.2b:





NOTE: Before commencing assembly, check from the reference numbers and letters that the pinion and drive gear are a matched pair (Fig.2b). The same serial number must be marked on the pinion end and the outer periphery of the crown wheel. If these requirements are not met the unit must be exchanged.