Operation CHARM: Car repair manuals for everyone.
Manuals through 2025 now available!

Our trusted friends have launched a new website named LEMON, which has newer manuals. It also contains all the CHARM manuals.

LEMON is the spiritual successor to CHARM, I recommend you try it!

Link: lemon-manuals.la or lemon-manuals.org.ua

(Some people have issue connecting. LEMON is investigating. For now, use Firefox or change your DNS server)

Or, hide this message: temporarily or permanently

Electrical Diagrams

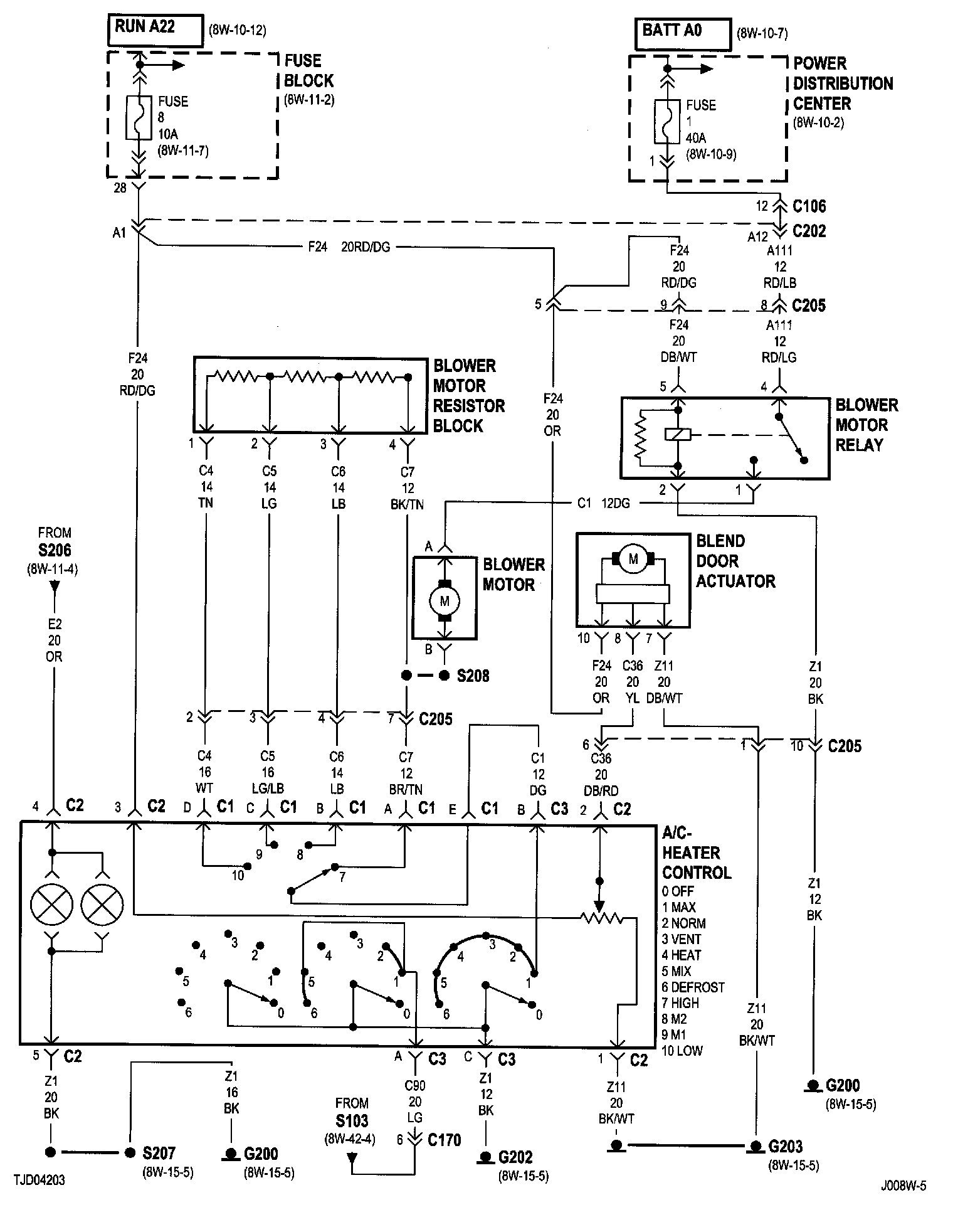
8w-42-2 (Heater Only):




A/C- Heater Control
Blend Door Actuator
Blower Motor
Blower Motor Relay
Blower Motor Resistor Block
Fuse 8 (FB)
Fuse Block
G200
G202
G203
Power Distribution Center
S208


8w-42-3:




A/C- Heater Control
Blend Door Actuator
Blower Motor
Blower Motor Relay
Blower Motor Resistor Block
Fuse 8 (FB)
Fuse Block
G200
G202
G203
Power Distribution Center
S208


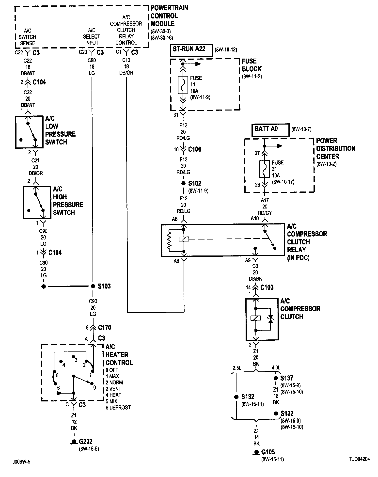
8w-42-4:




A/C Compressor Clutch
A/C Compressor Clutch Relay
A/C Heater Control
A/C High Pressure Switch
Fuse 11 (FB)
Fuse 21 (PDC)
Fuse Block
G105
G202
Power Distribution Center
Powertrain Control Module
S103

NOTE: To view sheets referred to in these diagrams, see Complete Body and Chassis Diagrams
Electrical Diagrams