Operation CHARM: Car repair manuals for everyone.
Manuals through 2025 now available!

Our trusted friends have launched a new website named LEMON, which has newer manuals. It also contains all the CHARM manuals.

LEMON is the spiritual successor to CHARM, I recommend you try it!

Link: lemon-manuals.la or lemon-manuals.org.ua

(Some people have issue connecting. LEMON is investigating. For now, use Firefox or change your DNS server)

Or, hide this message: temporarily or permanently

ISO Flaring






ISO FLARING

A preformed metal brake tube is recommended and preferred for all repairs. However, double-wall steel tube can be used for emergency repair when factory replacement parts are not readily available.

Special bending tools are needed to avoid kinking or twisting of metal brake tubes. Special flaring tools are needed to make a double inverted flare or ISO flare.

To make a ISO flare use Snap-On(R) Flaring Tool TFM-428 or equivalent.










1. Cut off damaged tube with Tubing Cutter.
2. Remove any burrs from the inside of the tube.
3. Install tube nut on the tube.
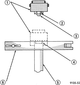
4. Position the tube (5) in the flaring tool flush with the top of the tool bar (6). Then tighten the tool bar (6) on the tube (5).
5. Install the correct size adaptor (2, 3) on the flaring tool yoke screw (1).
6. Lubricate the adaptor.
7. Align the adaptor and yoke screw (1) over the tube (5).
8. Turn the yoke screw (1) in until the adaptor is squarely seated on the tool bar (6).