Operation CHARM: Car repair manuals for everyone.
Manuals through 2025 now available!

Our trusted friends have launched a new website named LEMON, which has newer manuals. It also contains all the CHARM manuals.

LEMON is the spiritual successor to CHARM, I recommend you try it!

Link: lemon-manuals.la or lemon-manuals.org.ua

(Some people have issue connecting. LEMON is investigating. For now, use Firefox or change your DNS server)

Or, hide this message: temporarily or permanently

Refrigerant System



Description

Refrigerant System
The refrigerant system is a sealed closed loop system which is charged with Refrigerant R134a as the heat transfer medium. It works in combination with a blower unit, blend unit and control system to achieve the desired air temperature.

ND-8 oil is added to the refrigerant to lubricate the internal components of the compressor. The refrigerant system comprises of the following main components connected together by refrigerant lines:
- Compressor (variable load).
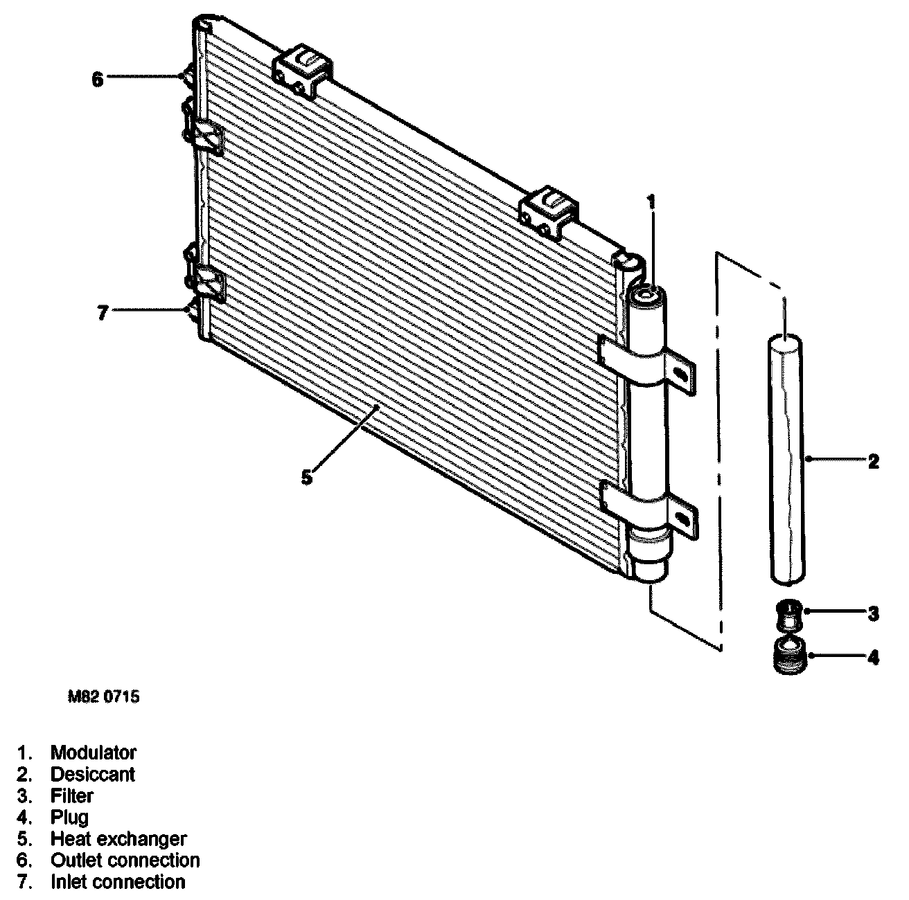
- Condenser (with modulator).
- Thermostatic expansion valve.
- Evaporator.

To accomplish the transfer of heat, the refrigerant is circulated around the system, where it passes through two pressure/temperature regimes. In each of the pressure/temperature regimes, the refrigerant changes state, during which process maximum heat absorption or release occurs.

The low pressure/temperature regime is from the thermostatic expansion valve, through the evaporator to the compressor; the refrigerant decreases in pressure and temperature at the thermostatic expansion valve, then changes state from liquid to vapour in the evaporator, to absorb the heat.

The high pressure/temperature regime is from the compressor, through the condenser and modulator (receiver/drier), back into the condenser where it is supercooled and then to the thermostatic expansion valve. The refrigerant increases in pressure and temperature as it passes through the compressor, then releases heat and changes state from vapour to liquid in the condenser.

Fan blown air is passed through the evaporator where it is cooled by absorption due to the low temperature refrigerant in the evaporator. Most of the moisture held in the air is condensed into water by the evaporator and drains away beneath the vehicle via a drain tube.

The compressor receives the returned low pressure, warm, vaporised refrigerant from the evaporator to complete the refrigeration cycle.

Compressor
A variable displacement compressor is driven from the crankshaft via the ancillary drive belt. An electromechanical clutch is used to engage and disengage the drive between the drive belt pulley and the compressor. Operation of the compressor clutch is controlled by the Engine Control Module (ECM).

Power to the A/C compressor clutch is via the normally open contacts of an associated A/C compressor clutch relay which is located in the engine compartment fusebox. When the coil of the relay is grounded by the ECM, the relay contacts close and the clutch is powered to engage the compressor to the drive belt pulley.

When the compressor is operational, pressurised refrigerant is circulated through the system. The compressor pressurises low pressure, warm, vaporised refrigerant which it receives from the evaporator, causing the refrigerant vapour to become very hot. The high pressure vaporised refrigerant is passed from the compressor to the condenser mounted in front of the radiator. The refrigerant increases in pressure and temperature as it passes through the compressor, then releases heat and changes state from vapour to liquid in the condenser.

The compressor is attached to a mounting bracket on the engine, and is a seven cylinder swash plate unit with variable displacement. Up to 2004 model year, a Denso compressor is installed. From 2004 model year, a Sanden compressor is installed.

Denso Compressor (Up To 2004 Model Year)










The compressor consists of a housing which contains a shaft mounted in radial and thrust bearings. A lug plate is pressed onto the shaft and the clutch and pulley assembly is splined to the end of the shaft at the front of the housing.

A swash plate is installed on the shaft and connected to the lug plate by two guide pins. The swash plate is a sliding fit on the shaft and biased away from the lug plate by a spring. The outer circumference of the swash plate is engaged in the ends of seven pistons, which are located in cylinders equally spaced around the housing interior.

Two pressure chambers in the rear of the housing are connected to inlet and outlet ports in the housing wall. Suction and discharge valves, between each cylinder and the chambers, control the flow of vapour into and out of the cylinders. A control valve assembly regulates a servo (control) pressure supplied through drillings in the housing of the chamber containing the swash plate.

The control valve assembly consists of a ball valve operated by a push rod connected to a diaphragm. Spring and atmospheric pressure on one side of the diaphragm are opposed by inlet pressure on the opposite side of the diaphragm, and also by outlet pressure and a spring acting on the ball valve. The ball valve controls a flow of vapour from the outlet pressure chamber to produce the servo pressure in the swash plate chamber.

When the engine is running and A/C is off, the clutch is de-energised and the compressor pulley freewheels under the influence of the drive belt. Vapour pressures are equalised throughout the compressor. The spring between the lug plate and the swash plate holds the swash plate at the minimum tilt angle (to minimise load during system start-up).

When A/C is requested, the electro-magnetic clutch is engaged and the pulley turns the central shaft of the compressor. The lug plate and the swash plate turn with the shaft, and the movement of the angled swash plate produces reciprocating movement of the pistons. Vapour from the inlet pressure chamber is drawn into the cylinders, compressed, and discharged into the outlet pressure chamber, producing a flow around the refrigerant circuit.

The flow rate through the compressor is determined by the length of the piston stroke, which is controlled by the tilt angle of the swash plate. The tilt angle of the swash plate is set by the servo pressure and compressor inlet pressure acting on the pistons during their induction stroke. A relative increase of inlet pressure over servo pressure moves the pistons along their cylinders to increase the swash plate tilt angle, the piston stroke and the refrigerant flow rate.

The control valve regulates the servo pressure in the swash plate chamber as a function of inlet pressure, so that the flow rate of the compressor matches the thermal load at the evaporator, i.e. the more cooling effort that is required in the cabin of the vehicle, corresponds to a higher thermal load and flow rate. Servo pressure varies between inlet pressure and inlet pressure + 1 bar (14.5 sq.lbf.in).

On start-up, the compressor inlet pressure is relatively low. In the control valve, the diaphragm and push rod hold the ball valve open. This allows a restricted flow of outlet pressure through the ball valve into the swash plate chamber, which maintains the swash plate at a low tilt angle. As the refrigerant flows through the evaporator and absorbs heat (i.e. as the thermal load increases) the pressure of the vapour entering the compressor increases.

In the control valve, the increased inlet pressure causes the diaphragm and push rod to move to close the ball valve. The resultant reduction in swash plate chamber pressure, together with the increase in inlet pressure, causes pistons on their induction stroke to move the swash plate to a higher tilt angle and increase the piston stroke and the refrigerant flow through the compressor.

When the thermal load of the evaporator decreases, the subsequent decrease in pressure of vapour entering the compressor causes the control valve to open. This increases the swash plate chamber pressure, which in turn reduces the tilt angle of the swash plate and the refrigerant flow through the compressor.

By matching the refrigerant flow to the thermal load of the evaporator, the variable compressor maintains a relatively constant evaporator temperature of approximately 3 to 4 degrees C (37 to 39 degrees F).

Sanden Compressor (From 2004 Model Year)













The compressor consists of a housing which contains a shaft mounted in radial and thrust bearings. A rotor is pressed onto the shaft and the clutch and pulley assembly is splined on the end of the shaft at the front of the housing.

A swash plate is installed on the shaft and connected to the rotor by a pin. The swash plate is a sliding fit on the shaft and biased away from the rotor by a spring. The outer circumference of the swash plate is engaged in the ends of seven pistons, which are located in cylinders equally spaced around the housing interior.

Two pressure chambers in the rear of the housing are connected to inlet and outlet ports in the housing wall. Suction and discharge valves, between each cylinder and the chambers, control the flow of vapour into and out of the cylinders. A control valve assembly regulates a servo (control) pressure supplied through drillings in the housing of the chamber containing the swash plate.

The control valve assembly consists of a valve operated by a bellows and a rod. The bellows is expanded and contracted by crankcase pressure, and also the rod is pressed by outlet pressure. The valve controls a flow of vapour from the crankcase.

When the engine is running and the A/C is off, the clutch is de-energised and the compressor pulley freewheels under the influence of the drive belt. Vapour pressure is equalised throughout the compressor. The spring between the rotor and the swash plate holds the swash plate at the minimum tilt angle (to minimise load during system start-up).

When the A/C is requested, the electro-magnetic clutch is engaged and the pulley turns the central shaft of the compressor. The rotor and the swash plate turn with the shaft, and the movement of the angled swash plate produces reciprocating movement of the pistons. Vapour from the inlet pressure chamber is drawn into the cylinders, compressed, and discharged into the outlet pressure chamber, producing a flow around the refrigerant circuit.

The flow rate through the compressor is determined by the length of the piston stroke, which is controlled by the tilt angle of the swash plate. The tilt angle of the swash plate is set by the crankcase pressure and compressor inlet pressure acting on the pistons during their induction stroke. A relative increase of inlet pressure over crankcase pressure moves the pistons along their cylinders to increase the swash plate tilt angle, the piston stroke and the refrigerant flow rate.

The control valve regulates the crankcase pressure as a function of outlet pressure, so that the flow rate of the compressor matches the thermal load.

As the thermal load increase the outlet pressure and crankcase pressure increase. In the control valve, the increased crankcase pressure and outlet pressure causes the valve to open. The resultant reduction in crankcase pressure, together with the increase in outlet pressure, cause the pistons on their induction stroke to move the swash plate to a higher tilt angle and increase the piston stroke and the refrigerant flow through the compressor.

When the thermal load decreases, the subsequent decrease in outlet pressure and crankcase pressure cause the control valve to close. This increases the crankcase pressure, which in turn reduces the tilt angle of the swash plate and the refrigerant flow through the compressor.

Condenser and Modulator







The condenser transfers heat from the refrigerant to the surrounding air to convert the vapour from the compressor into a liquid. A modulator mounted on the side of the condenser performs the same basic function as a conventional receiver/drier, in that it incorporates a filter and a desiccant to remove moisture and solid impurities from the refrigerant. The modulator also functions as a reservoir for liquid refrigerant, to accommodate changes of heat load at the evaporator.

The condenser is installed immediately in front of the radiator. Side mounting brackets on the condenser end tanks locate to mounting points on the front of the radiator using bolts. The modulator on the LH end of the condenser is mounted in a dedicated bracket. Exact mounting position of the condenser unit is dependent on the engine variant for the particular vehicle.

The unit is classified as a sub-cooling condenser and consists of a fin and tube heat exchanger installed between two end tanks. Divisions in the end tanks separate the heat exchanger into a three pass upper (condenser) section and a single pass lower (sub-cooler) section, which are interconnected by the modulator on the LH end of the tank. The modulator is separately serviceable unit from the condenser, and it contains a serviceable desiccant pack and filter retained by a threaded plug.

Ambient air passing through the heat exchanger due to the ram air effect is supplemented by the two cooling fans, which combine to cool the refrigerant in the condenser sufficiently in order to form a high pressure slightly sub-cooled liquid.

The sub-cooled liquid is then passed to the modulator (which performs the same basic function as a standard receiver/drier) which is of a canister type construction located at the LH side of the condenser. In the modulator, most of the remaining gas in the refrigerant separates off and the refrigerant passes through the desiccant and filter, to remove moisture and solid impurities before the refrigerant enters the sub-cooled section of the condenser. The refrigerant is cooled even further as it passes through the sub-cooler section of the condenser, resulting in the refrigerant at the outlet to the condenser being almost 100% liquid.

Thermostatic Expansion Valve (TXV)







The sub-cooled liquid refrigerant passes from the outlet of the condenser through a pipe to a thermostatic expansion valve (TXV) situated at the engine compartment bulkhead. The TXV connects to the evaporator unit mounted inside the air inlet and blower motor casing in the vehicle cabin.

The thermostatic expansion valve meters the flow of refrigerant into the evaporator, to match the refrigerant flow with the heat load of the air passing through the evaporator matrix.

The thermostatic expansion valve (block valve) incorporates a restrictor which converts the liquid refrigerant into a low temperature, low pressure liquid vapour mixture (fine spray). The valve has an internally located temperature sensing bulb for precise control of superheat. If high temperatures are sensed, the valve opens wider and vice versa.

The thermostatic expansion valve is attached to the inlet and outlet ports of the evaporator, in the cooling unit behind the passenger's side of the fascia. The valve is the parallel charge type, consisting of an aluminium housing containing inlet and outlet passages. A ball and spring metering valve is installed in the inlet passage and a temperature sensor is installed in the outlet passage. The temperature sensor consists of a push rod connected to a diaphragm. The bottom end of the push rod acts on the ball of the metering valve. Pressure on top of the diaphragm is controlled by evaporator outlet temperature conducted through the push rod. The bottom of the diaphragm senses evaporator outlet pressure via internal passages.







Liquid refrigerant flows through the metering valve into the evaporator. The restriction across the metering valve reduces the pressure and temperature of the refrigerant. The restriction also changes the solid stream of refrigerant into a fine spray, to improve the evaporation process. As the refrigerant passes through the evaporator, it absorbs heat from the air flowing through the evaporator matrix. The increase in temperature causes the refrigerant to vapourise and increase in pressure.

The temperature and pressure of the refrigerant leaving the evaporator act on the diaphragm and temperature sensitive tube, which move to regulate the metering valve opening and so control the volume of refrigerant flowing through the evaporator. The warmer the air flowing through the evaporator matrix, the more heat available to evaporate refrigerant and thus the greater the volume of refrigerant allowed through the metering valve.

Cooling Unit and Evaporator







The cooling unit directs the flow of air, from the plenum or the vehicle interior, through the evaporator to the heater assembly.

The cooling unit is installed in place of the air inlet duct used for non air-conditioned vehicles, and contains the evaporator, inlet and outlet pipes connecting to the thermostatic expansion valve through the bulkhead and the evaporator temperature sensor. It also incorporates the water condensate drain and the fresh and recirculated air inlets.

A control flap, operated by a recirculated air motor, opens and closes the fresh and recirculated air inlets. On the downstream side of the evaporator, the casing is lined with polystyrene insulation.

The fin and plate, brazed aluminium evaporator is installed in the cooling unit behind the passenger's side of the fascia, to absorb heat from the exterior or recirculated inlet air. Low pressure, low temperature refrigerant changes from liquid to vapour in the evaporator, absorbing large quantities of heat as it changes state.

Most of the moisture in the air passing through the evaporator condenses into water, which is drained away from the air inlet casing via a drain tube routed to beneath the vehicle.

Refrigerant Lines
To maintain similar flow velocities around the system, the diameter of the refrigerant lines varies to suit the two pressure/temperature regimes. The larger diameters are installed in the low pressure/temperature regime and the smaller diameters are installed in the high pressure/temperature regime. Low and high pressure charging connections are incorporated into the refrigerant lines for system servicing.