Operation CHARM: Car repair manuals for everyone.
Manuals through 2025 now available!

Our trusted friends have launched a new website named LEMON, which has newer manuals. It also contains all the CHARM manuals.

LEMON is the spiritual successor to CHARM, I recommend you try it!

Link: lemon-manuals.la or lemon-manuals.org.ua

(Some people have issue connecting. LEMON is investigating. For now, use Firefox or change your DNS server)

Or, hide this message: temporarily or permanently

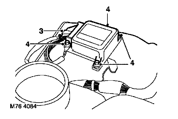
Air Bag Control Module: Service and Repair




Diagnostic Control Unit (DCU) - Air Bag System

Remove

WARNING: It is imperative that before any work is undertaken on the SRS system the appropriate in formation is read thoroughly.


1. Make the SRS system safe.
2. Remove heater assembly.







3. Disconnect multiplug from DCU.
4. Remove 3 Torx bolts securing DCU to body and remove DCU.

Refit
1. Fit DCU to body and secure with bolts. Tighten bolts to 9 Nm (7 lbf.ft).
2. Connect multiplug to DCU.
3. Fit heater assembly.
4. Connect battery leads, earth lead last.