Operation CHARM: Car repair manuals for everyone.
Manuals through 2025 now available!

Our trusted friends have launched a new website named LEMON, which has newer manuals. It also contains all the CHARM manuals.

LEMON is the spiritual successor to CHARM, I recommend you try it!

Link: lemon-manuals.la or lemon-manuals.org.ua

(Some people have issue connecting. LEMON is investigating. For now, use Firefox or change your DNS server)

Or, hide this message: temporarily or permanently

Oxygen Sensor: Testing and Inspection







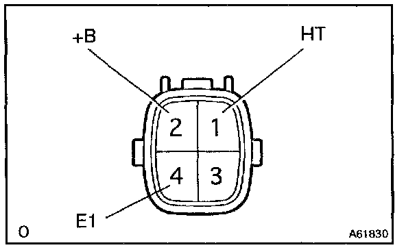
INSPECT HEATED OXYGEN SENSOR (BANK-1,BANK-2 OXYGEN SENSOR)
a. Using an Ohmmeter, measure resistance between the terminals.

If the resistance is not as specified, replace the sensor.







INSPECT HEATED OXYGEN SENSOR (BANK1,BANK-2 OXYGEN SENSOR N0.2)
a. Using an Ohmmeter, measure resistance between the terminals.

If the resistance is not as specified, replace the sensor.