Operation CHARM: Car repair manuals for everyone.
Manuals through 2025 now available!

Our trusted friends have launched a new website named LEMON, which has newer manuals. It also contains all the CHARM manuals.

LEMON is the spiritual successor to CHARM, I recommend you try it!

Link: lemon-manuals.la or lemon-manuals.org.ua

(Some people have issue connecting. LEMON is investigating. For now, use Firefox or change your DNS server)

Or, hide this message: temporarily or permanently

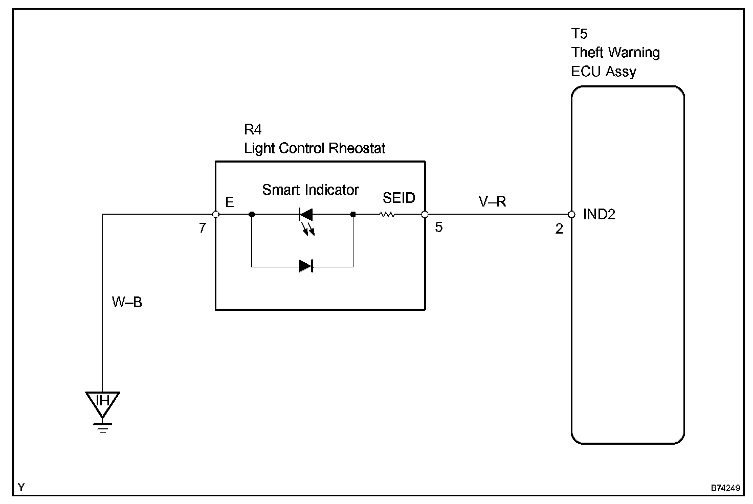
Smart Indicator Circuit

SMART INDICATOR CIRCUIT

CIRCUIT DESCRIPTION

When the smart key system is preparing to be set, this circuit illuminates the indicator.

When the system is set, the indicator starts flashing.

The indicator also indicates the condition of the immobilizer system according to the request from the transponder key ECU.

Wiring Diagram:






Step 1 - 2:




Step 3:




INSPECTION PROCEDURE