Operation CHARM: Car repair manuals for everyone.
Manuals through 2025 now available!

Our trusted friends have launched a new website named LEMON, which has newer manuals. It also contains all the CHARM manuals.

LEMON is the spiritual successor to CHARM, I recommend you try it!

Link: lemon-manuals.la or lemon-manuals.org.ua

(Some people have issue connecting. LEMON is investigating. For now, use Firefox or change your DNS server)

Or, hide this message: temporarily or permanently

Intake Manifold: Service and Repair

Intake Manifold

Removal
1. Disconnect the battery ground cable.
2. Remove the air cleaner outlet tube.

3. CAUTION: The coolant drain procedure must be followed exactly or damage to the engine can occur.

Drain the engine cooling system.
4. Remove the cowl vent screen.





5. Remove the engine compartment brace.





6. Disconnect the accelerator and speed control cables.





7. Disconnect the vacuum hoses.





8. Disconnect the vacuum hose.





9. Disconnect the exhaust manifold to Exhaust Gas Recirculation (EGR) valve tube.





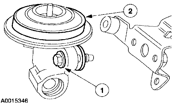
10. Remove the EGR valve.
1 Remove the two bolts.
2 Remove the valve and discard the gasket.





11. Disconnect the camshaft position (CMP) sensor electrical connector and separate the connector from the fuel injection supply manifold.





12. CAUTION: To remove Normal fittings, squeeze the tabs and pull straight out or damage to the fitting can occur.

Disconnect the evaporative emission canister purge valve hose.





13. Disconnect the fuel pressure sensor electrical connector.





14. Disconnect the vacuum connector from the fuel pressure sensor.
15. Disconnect the fuel line.





16. Remove the electrical connectors from the bracket.
1 LH Knock Sensor (KS).
2 Cylinder Head Temperature (CHT) sensor.





17. Remove the nut and the bracket.





18. Remove the bracket.
1 Remove the hose.
2 Remove the nuts and the bracket.





19. Raise the engine wiring harness and disconnect the LH fuel injector connectors.





20. Disconnect the electrical connectors.
- Idle Air Control (IAC) valve.
- Throttle Position (TP) sensor.





21. Disconnect the crankcase ventilation tube from the RH valve cover.





22. Disconnect the hoses.
1 Squeeze the clamps and disconnect the hoses from the throttle body.
2 Detach the hose from the clip.





23. Raise the engine wiring harness and disconnect the RH fuel injectors.





24. Remove the differential pressure feedback sensor.
1 Disconnect the electrical connector.
2 Disconnect the hoses.
3 Remove the bolts and the sensor.





25. NOTE: The throttle body and adapter are shown removed for clarity. It is not necessary to remove the throttle body and adapter to remove the intake manifold.

Remove the bolts and the stud (2) in the sequence shown.





26. NOTE: The throttle body, adapter, and EGR valve are shown removed for clarity.

NOTE: Position the throttle body heater return hose out of the way before removing the intake manifold.

Remove the intake manifold.





27. CAUTION: Do not use metal scrapers, wire brushes, power abrasive discs, or other abrasive means to clean the sealing surfaces. These tools cause scratches and gouges, which make leak paths. Use a plastic scraping tool to clean the surfaces.

Clean the sealing surfaces.
- Inspect the gaskets and install new gaskets if necessary.

Installation





1. If removed, install the gaskets.





2. NOTE: Make sure that the throttle body heater return hose is positioned between the heat shield and the intake manifold.

Install the intake manifold and tighten the bolts in the sequence shown.





3. Install the differential pressure feedback sensor.
1 Install the sensor and the bolts.
2 Connect the electrical connector.
3 Connect the hoses.





4. Connect the RH fuel injector electrical connectors, and position the engine wiring harness.





5. Connect the hoses.
1 Connect the hoses to the throttle body and position the clamps.
2 Attach the hose to the clip.





6. Connect the crankcase ventilation tube.





7. Connect the IAC valve and TPS electrical connectors.





8. Connect the LH fuel injector electrical connectors and position the engine wiring harness.





9. Install the bracket.
1 Install the bracket and nuts.
2 Install the hose.





10. Install the bracket and the nut.





11. Install the electrical connectors on the bracket.
1 Install the LH KS electrical connector.
2 Install the CHT sensor electrical connector.
12. Connect the fuel hose.





13. Connect the vacuum connector to the fuel pressure sensor.





14. Connect the fuel pressure sensor electrical connector.





15. Connect the evaporative emission canister purge valve hose.





16. Connect the CMP sensor electrical connector, and position the connector on the fuel injection supply manifold.





17. Connect the exhaust manifold to EGR valve tube.





18. NOTE: Exhaust manifold to EGR valve tube is removed for clarity.

Install the EGR valve.
- Install a new gasket and the valve.
- Install the two bolts.





19. Tighten the tube.





20. Connect the vacuum hose.





21. Connect the vacuum hoses.





22. Connect the accelerator and speed control cables.





23. Install the engine compartment brace.
24. Install the cowl vent screen.
25. Install the air cleaner outlet tube.
26. Connect the battery ground cable.

27. CAUTION: The cooling system filling and bleeding procedure must be followed exactly or damage to the engine can occur.

Fill and bleed the engine cooling system.