Operation CHARM: Car repair manuals for everyone.
Manuals through 2025 now available!

Our trusted friends have launched a new website named LEMON, which has newer manuals. It also contains all the CHARM manuals.

LEMON is the spiritual successor to CHARM, I recommend you try it!

Link: lemon-manuals.la or lemon-manuals.org.ua

(Some people have issue connecting. LEMON is investigating. For now, use Firefox or change your DNS server)

Or, hide this message: temporarily or permanently

Secondary

Timing Drive Components-Secondary

Removal

NOTE: The RH secondary timing chains are shown; the LH secondary timing chains are similar.

1. Remove the primary timing chains.





2. Remove the exhaust sprocket bolt.





3. Remove the intake sprocket bolt.





4. Remove the sprockets and chain as an assembly.





5. Remove the secondary timing chain tensioner bolts.





6. Remove the tensioner.

Installation





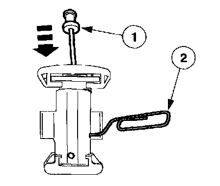
1. Collapse the tensioners.
1 Insert a thin wire into the check valve and apply hand pressure until the tensioner is fully collapsed.
2 Install a wire in the side to retain the tensioner.





2. Position the tensioner.





3. Install the timing chain tensioner bolts.





4. Position the intake sprocket, chain and exhaust sprocket on the camshafts as an assembly.





5. Loosely install the intake and exhaust sprocket bolts.
6. Install the primary timing chains.