Operation CHARM: Car repair manuals for everyone.
Manuals through 2025 now available!

Our trusted friends have launched a new website named LEMON, which has newer manuals. It also contains all the CHARM manuals.

LEMON is the spiritual successor to CHARM, I recommend you try it!

Link: lemon-manuals.la or lemon-manuals.org.ua

(Some people have issue connecting. LEMON is investigating. For now, use Firefox or change your DNS server)

Or, hide this message: temporarily or permanently

Clutch: Service and Repair

Bleed Procedure

1. WARNING: Brake fluid contains polyglycol ethers and polyglycols. Avoid contact with eyes. Wash hands thoroughly after handling. If brake fluid contacts eyes, flush eyes with running water for 15 minutes. Get medical attention if irritation persists. If taken internally, drink water and induce vomiting. Get medical attention immediately.

CAUTION: Brake fluid is harmful to painted or plastic surfaces. If the brake fluid is spilled onto a painted or plastic surface, wash it immediately with water.

NOTE: Make sure of absolute cleanliness when filling the brake fluid reservoir

NOTE: Do not re-use brake fluid.

Fill the brake fluid reservoir with High Performance DOT3 Motor Vehicle Brake Fluid C6AZ-19542-AB or equivalent meeting Ford specification ESA-M6C25-A, DOT3.
2. Raise and support the vehicle.





3. Remove the dust cover.





4. Remove the bleed nipple cover.





5. Bleed the clutch system.
^ Attach a proprietary bleed jar to the bleed nipple and open the bleed nipple one turn.
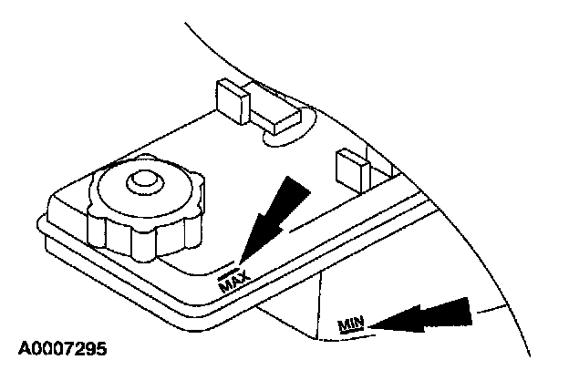
^ Depress the clutch pedal repeatedly until the emerging fluid is free of bubbles; always make sure that there is sufficient fluid (5 mm [0.2 inch) above the MAX) in the reservoir.
^ After bleeding, tighten the bleed nipple.
^ Install the bleed nipple cover.
^ Install the dust cover.
^ After bleeding, lower the vehicle and depress the clutch 10 times and check that it is functioning correctly.





6. NOTE: Make sure of absolute cleanliness when filling the brake fluid reservoir.

Check the brake fluid level.
^ The fluid level should be between the MIN and MAX marks. If the level drops below the MIN mark, the brake warning indicator will light up.
^ As necessary, fill the brake fluid reservoir with High Performance DOT3 Motor Vehicle Brake Fluid C6AZ-19542-AB or equivalent meeting Ford specification ESA-M6C25-A, DOT3.