Operation CHARM: Car repair manuals for everyone.
Manuals through 2025 now available!

Our trusted friends have launched a new website named LEMON, which has newer manuals. It also contains all the CHARM manuals.

LEMON is the spiritual successor to CHARM, I recommend you try it!

Link: lemon-manuals.la or lemon-manuals.org.ua

(Some people have issue connecting. LEMON is investigating. For now, use Firefox or change your DNS server)

Or, hide this message: temporarily or permanently

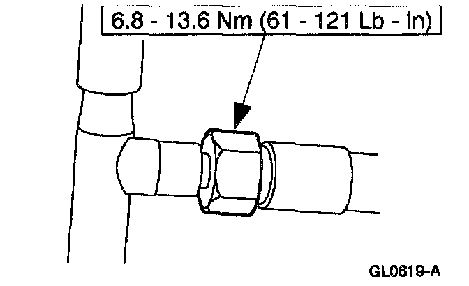
Compressor Fitting HVAC: Service and Repair

Manifold And Tube Assembly - Main Climate Control

REMOVAL
1. Perform the Refrigerant Discharging and Recovery Procedure.







2. Remove the bolt and the manifold and tube assembly.







3. Disconnect the A/C pressure cut-off switch electrical connector.







4. Disconnect the manifold and tube assembly spring lock coupling at the suction accumulator.







5. Remove the nut and disconnect the A/C condenser core inlet line.







6. If equipped, remove the nut.







7. Remove the A/C pressure cut-off switch.

INSTALLATION
1. To install, reverse the removal procedure.
^ Lubricate the O-ring seals with PAG Refrigerant Compressor Oil (R-134a Systems) F7AZ-19589-DA (Motorcraft YN-12-C), or equivalent, meeting Ford specification WSH-M1C231-B.