Operation CHARM: Car repair manuals for everyone.
Manuals through 2025 now available!

Our trusted friends have launched a new website named LEMON, which has newer manuals. It also contains all the CHARM manuals.

LEMON is the spiritual successor to CHARM, I recommend you try it!

Link: lemon-manuals.la or lemon-manuals.org.ua

(Some people have issue connecting. LEMON is investigating. For now, use Firefox or change your DNS server)

Or, hide this message: temporarily or permanently

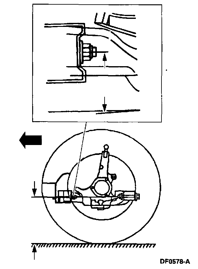
Ride Height

Ride Height-Front





Special Tool(s)






Ride Height Components and Measurement Locations

NOTE: For four wheel air suspension (4WAS) equipped vehicles, the front air shocks need to be vented before measuring or adjusting ride height.

1. Vent the front air shocks.
^ Using the scan tool, select AIR SUSPENSION CONTROL MODE under the ACTIVE COMMAND MODES menu. Select VENT FRNT command to deflate the front air shocks down. Hold for 30 seconds to allow complete system venting. Do not disconnect the scan tool. Keep it at the same mode as specified to keep the system at diagnostic mode at time of ride height measurement. If the scan tool is disconnected, the system will go to the operational mode and based on signal inputs, will level the vehicle to specified height (trim or kneel).
2. Raise and support the vehicle.
^ Use a hoist with frictionless plates to support the front wheels.
^ Normalize the vehicle static ride height.





3. Measure the front suspension from the center line on the nut side of the front bolt on the front suspension lower arm to the ground, and record.





4. Measure the front suspension from the bottom of the front wheel knuckle to the ground, and record.

NOTE: The ride height specification for base vehicles with new suspension components is higher than the specification for vehicles using original suspension components to allow for new component settling.





5. To obtain the front suspension ride height, subtract the measurement in Step 3 from the measurement in Step 2.
^ If the measurement is out of specification, ride height adjustment is required.





6. NOTE: For the front ride height setting procedure on vehicles equipped with four-wheel air suspension system, for additional information, refer to Vehicle Dynamic Suspension.

NOTE: Use only hand tools for this adjustment.

NOTE: The ride height measurement on the opposite side from the adjustment may change.

Adjust the ride height by tightening or loosening the torsion bar adjusting bolt.
^ Inspect the ride height on both sides after each adjustment.

7. NOTE: Do not under any circumstances "save rear" ride heights - there are precalibrated values already stored in the control module.
Once the mechanical ride heights are set, using the scan tool, select SAVE CALIBRATION VALUES under ACTIVE COMMAND MODE menu to calibrate the module. Trigger through warning message and save FRONT (turn from OFF to ON).