Operation CHARM: Car repair manuals for everyone.
Manuals through 2025 now available!

Our trusted friends have launched a new website named LEMON, which has newer manuals. It also contains all the CHARM manuals.

LEMON is the spiritual successor to CHARM, I recommend you try it!

Link: lemon-manuals.la or lemon-manuals.org.ua

(Some people have issue connecting. LEMON is investigating. For now, use Firefox or change your DNS server)

Or, hide this message: temporarily or permanently

Tools, Special - Modification

90mazda06 Category ST
Applicable Model/s RX-7, B-Series 929 & MPV
Subject MODIFICATION OF SPECIAL TOOLS
Bulletin No. 001/90
Issued 4/23/90
Revised
DESCRIPTION

Two special tools have been modified for continued use on Mazda vehicles. The new part numbers supercede previous part numbers. Please use the new number when ordering parts.

Figure 1:




TRANSMISSION HANGER SET

The dimensions of the automatic transmission holder have been modified. The old part can be reused effectively if the overhang is reduced by 6.5 mm (see Figure 1).

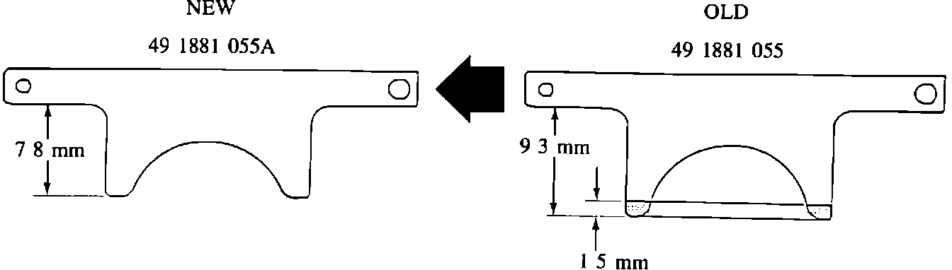
Figure 2:




The part number for the complete set, hanger and holder, has been changed (see Parts Information).


COUNTERWEIGHT STOPPER (Rotary Engine with A/T)

The size of the Counterweight stopper has been modified. The old part can be reused effectively by cutting 15 mm off the counterweight mounting points (see Figure 2).
PARTS INFORMATION


SST NUMBER SST DESCRIPTION WEIGHT - kg (lb)

49 1881 055A Counterweight Stopper 1.10 (2.23)

49 U019 0A0A Hanger Set: 11.66 (25.71)
49 H075 495B ^Body 11.00 (24.25)
49 U019 003 ^Holder 0.66 (1.46)