Operation CHARM: Car repair manuals for everyone.
Manuals through 2025 now available!

Our trusted friends have launched a new website named LEMON, which has newer manuals. It also contains all the CHARM manuals.

LEMON is the spiritual successor to CHARM, I recommend you try it!

Link: lemon-manuals.la or lemon-manuals.org.ua

(Some people have issue connecting. LEMON is investigating. For now, use Firefox or change your DNS server)

Or, hide this message: temporarily or permanently

Primary Control Valve Body Installation

PRIMARY CONTROL VALVE BODY INSTALLATION [FS5A-EL]

On-Vehicle Installation





Caution: Be sure to align the parking rod and the manual valve.





1. Install the accumulator springs and accumulators into the transaxle case.








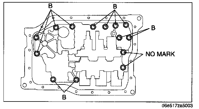
2. Install the primary control valve body component.

Tightening torque 7.8 - 10.8 N-m (80 - 110 kgf-cm, 70 - 95 in-lbf)

Bolt length (measured from below the head)
B:
40 mm (1.575 in)
No mark: 70 mm (2.756 in)

3. Install the oil strainer.





4. Match the harness colors, then connect the solenoid connectors and GND, and install the TFT sensor.





Tightening torque 7.8 - 10.8 N-m (80 - 110 kgf-cm, 70 - 95 in-lbf)





5. Apply a light coat of silicon sealant to the contact surfaces of the oil pan and transaxle case.
6. Install the oil pan.

Tightening torque 6 - 8 N-m (62 - 81 kgf-cm, 53 - 70 in-lbf)

7. Install the crossmember.
8. Install the front tires and splash shield.
9. Install the under cover.
10. Connect the negative battery cable.
11. Add ATF.
12. Carry out the mechanical system test. (See MECHANICAL SYSTEM TEST [FS5A-EL].) Mechanical System Test
13. Carry out the road test. (See ROAD TEST [FS5A-EL].) Road Test