Operation CHARM: Car repair manuals for everyone.
Manuals through 2025 now available!

Our trusted friends have launched a new website named LEMON, which has newer manuals. It also contains all the CHARM manuals.

LEMON is the spiritual successor to CHARM, I recommend you try it!

Link: lemon-manuals.la or lemon-manuals.org.ua

(Some people have issue connecting. LEMON is investigating. For now, use Firefox or change your DNS server)

Or, hide this message: temporarily or permanently

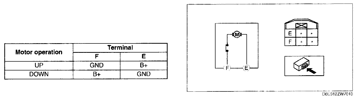
Power Window Motor: Testing and Inspection

POWER WINDOW MOTOR INSPECTION

Driver's Side and Passenger's Side
1. Disconnect the power window motor connector.




2. Apply battery positive voltage to the power window motor terminals E and F and inspect the operation the power window motor operation.
- If there is any malfunction, replace the power window motor.

3. Apply battery positive voltage to the power window motor terminal D and connect terminal C to ground.
4. Measure the voltage at terminal B and A while performing Step 3.
- If there is any malfunction, replace the power window motor.

Voltage Pulse wave: MAX.5 V, MIN.0 V

Rear Side




1. Apply battery positive voltage to the power window motor terminals and inspect the power window motor operation.
- If there is any malfunction, replace the power window motor.