Operation CHARM: Car repair manuals for everyone.
Manuals through 2025 now available!

Our trusted friends have launched a new website named LEMON, which has newer manuals. It also contains all the CHARM manuals.

LEMON is the spiritual successor to CHARM, I recommend you try it!

Link: lemon-manuals.la or lemon-manuals.org.ua

(Some people have issue connecting. LEMON is investigating. For now, use Firefox or change your DNS server)

Or, hide this message: temporarily or permanently

Cigarette Lighter: Service and Repair




CIGARETTE LIGHTER REMOVAL/INSTALLATION

1. Disconnect the negative battery cable.

2. Remove the ashtray panel. Removal and Replacement

3. Remove in the order indicated in the table.










4. Install in the reverse order of removal.

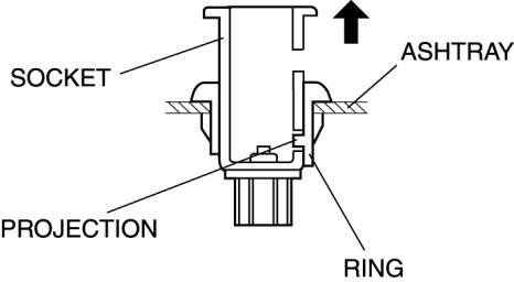
Socket Removal Note

1. Insert a tape-wrapped flathead screwdriver into the socket hole and push on the ring projection to lift the socket outward.






2. Lift out the socket until the ring projection locks into the lower socket hole as shown in the figure.






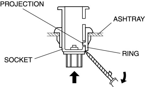
3. From the rear of the ashtray, insert a tape-wrapped flathead screwdriver between the socket and the ring as shown in the figure.






4. While lifting the ring projection with the flathead screwdriver, push out and remove the socket.

Ring Removal Note

1. Pull the ring outward while pressing the tabs.