Operation CHARM: Car repair manuals for everyone.
Manuals through 2025 now available!

Our trusted friends have launched a new website named LEMON, which has newer manuals. It also contains all the CHARM manuals.

LEMON is the spiritual successor to CHARM, I recommend you try it!

Link: lemon-manuals.la or lemon-manuals.org.ua

(Some people have issue connecting. LEMON is investigating. For now, use Firefox or change your DNS server)

Or, hide this message: temporarily or permanently

Front - ABS Wheel-Speed Sensor Removal/Installation




FRONT ABS WHEEL-SPEED SENSOR REMOVAL/INSTALLATION

1. Remove in the order indicated in the table.

2. Install in the reverse order of removal.

3. After installation, verify that there is no twisting in the ABS wheel-speed sensor.









Connector Removal Note

1. Peel back the mudguard and disconnect the connector and ABS wheel-speed sensor wiring harness clip (vehicle side).

Front ABS Wheel-Speed Sensor Removal Note

1. Remove the brake hose installation bolt shown in the figure, then remove the brake hose bracket from the shock absorber.






2. Remove the ABS wheel-speed sensor installation bolt, then remove the ABS wheel-speed sensor from the steering knuckle.

3. Remove the bolts and nuts shown in the figure, then disconnect the steering knuckle from the shock absorber.






4. While pressing the tabs (2 locations) of the ABS wheel-speed sensor wiring harness clip (shock absorber side), remove the ABS wheel-speed sensor wiring harness from the shock absorber.






5. Remove the ABS wheel-speed sensor wiring harness grommet from the shock absorber.

6. Remove the ABS wheel-speed sensor.

7. Install the steering knuckle to the shock absorber, insert the bolts from the direction shown as follows, then tighten them to the specified torque.






- Vehicle left side: Insert the bolts from the vehicle rear.
- Vehicle right side: Insert the bolts from the vehicle front.

8. Install the brake hose bracket to the shock absorber, then tighten the bolt to the specified torque.






Clip Removal Note

NOTE:
- Do not remove the clip except when replacing it.

1. Cut the band area of the clip, then remove the clip from the ABS wheel-speed sensor.

CAUTION:
- Be careful not to damage the ABS wheel-speed sensor when cutting the band area of the clip.

Clip Installation Note

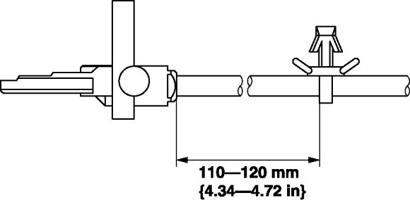
1. Install the clip to the ABS wheel-speed sensor as shown in the figure.






2. Cut the remaining band of the clip.