Operation CHARM: Car repair manuals for everyone.
Manuals through 2025 now available!

Our trusted friends have launched a new website named LEMON, which has newer manuals. It also contains all the CHARM manuals.

LEMON is the spiritual successor to CHARM, I recommend you try it!

Link: lemon-manuals.la or lemon-manuals.org.ua

(Some people have issue connecting. LEMON is investigating. For now, use Firefox or change your DNS server)

Or, hide this message: temporarily or permanently

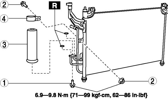
Receiver Dryer: Service and Repair




RECEIVER/DRIER REMOVAL/INSTALLATION

1. Disconnect the negative battery cable.

2. Collect the refrigerant. Refrigerant Charging

3. Remove the front bumper. Front Bumper Removal/Installation

4. Remove the seal board upper. Upper Seal Board Removal/Installation

5. Remove the closing plate. Shroud Panel Removal/Installation

CAUTION:
- If moisture or foreign material enters the refrigeration cycle, cooling ability will be lowered and abnormal noise will occur. Always immediately plug all open fittings after removing any refrigeration cycle parts to keep moisture or foreign material out of the cycle.

6. Remove in the order indicated in the table. Do not allow compressor oil to spill.










7. Install in the reverse order of removal.

8. Perform the refrigerant system performance test. Refrigerant System Performance Test

Bolt Removal Note

1. Disconnect the block joint type pipes by grasping female side of the block with hand and holding firmly, then loosen the connection bolt.






Bolt Installation Note

1. Tighten the bolt of joint by hand.

2. Connect the block joint type pipe by grasping the female side of the block with hand holding firmly, then tighten the connection bolt.






3. Tighten the joint to the specified torque.