Operation CHARM: Car repair manuals for everyone.
Manuals through 2025 now available!

Our trusted friends have launched a new website named LEMON, which has newer manuals. It also contains all the CHARM manuals.

LEMON is the spiritual successor to CHARM, I recommend you try it!

Link: lemon-manuals.la or lemon-manuals.org.ua

(Some people have issue connecting. LEMON is investigating. For now, use Firefox or change your DNS server)

Or, hide this message: temporarily or permanently

Connecting Rod: Testing and Inspection

CONNECTING ROD INSPECTION
1. Install the connecting rod cap.





2. Measure the connecting rod large end side clearance.
^ If it exceeds the specification, replace the piston, piston pin, snap ring and connecting rod.

Connecting rod large end standard side clearance
0.14-0.36 mm (0.006-0.014 in)

Connecting rod large end maximum side clearance
0.435 mm (0.0171 in)

3. Remove the connecting rod cap.
4. Position plastigauge atop the journals in the axial direction.
5. Install the connecting rod bearing and connecting rod cap.
6. Remove the connecting rod cap.
7. Measure the connecting rod oil clearance.
^ If it exceeds the specification, replace the connecting rod bearing or grind the crank pin and use oversize bearings so that the specified clearance is obtained.





Standard bearing oil clearance at the large end of connecting rod 0.026-0.052 mm (0.0011-0.0020 in)

Maximum bearing oil clearance at the large end of connecting rod 0.1 mm (0.003 in)

Connecting rod bearing size
STD: 1.497-1.521 mm (0.05894-0.05988 in)
OS 0.25: 1.622-1.628 mm (0.063860.06409 in)
OS 0.50: 1.747-1.753 mm (0.06878-0.06901 in)





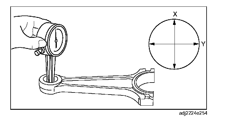
8. Measure the connecting rod small end using a caliper gauge.
^ If not exceeds the specification, replace the connecting rod.

Standard connecting rod small end inner diameter
20.010-20.021 mm (0.78780-0.78822 in)

9. Calculate the clearance between the connecting rod small end inner diameter and the new piston pin outer diameter.
^ If not exceeds the specification, replace the connecting rod.

Standard clearance between connecting rod small end inner diameter and piston pin outer diameter
0.010-0.026 mm (0.0004-0.0010 in)