Operation CHARM: Car repair manuals for everyone.
Manuals through 2025 now available!

Our trusted friends have launched a new website named LEMON, which has newer manuals. It also contains all the CHARM manuals.

LEMON is the spiritual successor to CHARM, I recommend you try it!

Link: lemon-manuals.la or lemon-manuals.org.ua

(Some people have issue connecting. LEMON is investigating. For now, use Firefox or change your DNS server)

Or, hide this message: temporarily or permanently

Overhaul




WHEEL HUB, STEERING KNUCKLE DISASSEMBLY/ASSEMBLY

1. Disassemble in the order indicated in the table.









2. Assemble in the reverse order of disassembly.

Wheel Hub Component Removal Note

1. Remove the wheel hub component using the SSTs.






2. If the bearing inner race remains on the front wheel hub component, perform the following procedure:

Without using SST

1. Grind a section of the bearing inner race until approx. 0.5 mm {0.02 in} remains.






2. Remove the bearing inner race using a chisel.

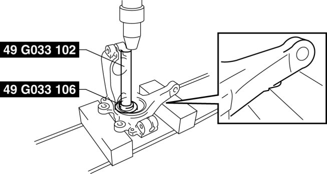
With using SST

1. Remove the part as shown in the figure.






2. Position the SSTs and a spare bolt (M10 length 90 mm {3.5 in} or less) as shown in the figure.






CAUTION:
- When tightening section A, tighten section B securely because the engagement of the SST tab is shallow and it can come off easily.

3. Tighten SST section A until the space between the bearing inner race and wheel hub component is 1-2 mm {0.04-0.07 in}.






4. Temporarily loosen SST section A and position the SST again.

5. Tighten SST section A and remove the bearing inner race.

Wheel Bearing Removal Note

1. Remove the wheel bearing using the SSTs.






Wheel Hub Bolt Removal Note

NOTE:
- The hub bolts do not need to be removed unless they are being replaced.

1. Remove the hub bolt using a press.






Wheel Hub Bolt Installation Note

1. Install the new hub bolt using a press.






Wheel Bearing Installation Note

NOTE:
- Install the wheel bearing with the ABS encoder (tea color) facing inside of the vehicle.






1. Install the new wheel bearing using the SSTs.






Wheel Hub Component Installation Note

1. Install the wheel hub component using the SSTs.