Operation CHARM: Car repair manuals for everyone.
Manuals through 2025 now available!

Our trusted friends have launched a new website named LEMON, which has newer manuals. It also contains all the CHARM manuals.

LEMON is the spiritual successor to CHARM, I recommend you try it!

Link: lemon-manuals.la or lemon-manuals.org.ua

(Some people have issue connecting. LEMON is investigating. For now, use Firefox or change your DNS server)

Or, hide this message: temporarily or permanently

Removal and Replacement




ENGINE REMOVAL/INSTALLATION [L3 WITH TC]

WARNING:
- Fuel vapor is hazardous. It can very easily ignite, causing death, serious injury, or damage. Always keep sparks and flames away from fuel.
- Fuel line spills and leakage from the pressurized fuel system are dangerous. Fuel can easily ignite and cause serious injury or death and damage. Fuel can also irritate skin and eyes. To prevent this, always perform the Fuel Line Safety Procedure. (See Before Service Precaution.)

1. Disconnect both battery cable.

2. Remove the battery and battery tray. (See Removal and Replacement.)

3. Remove the charge air cooler duct. (See Service and Repair.)

4. Remove the air cleaner. (See Service and Repair.)

5. Remove the front tire. (See Service and Repair.)

6. Remove the under cover, splash shield and mudguard.

7. Remove the drive belt. (See Service and Repair.)

8. Disconnect the heater hose. (See Removal and Replacement.)

9. Disconnect the radiator hose. (See Service and Repair.)

10. Disconnect the brake vacuum hose.

11. Disconnect the fuel hose and vacuum hose. Service and Repair

12. Disconnect the selector cable from the transaxle side. (See Service and Repair.)

13. Disconnect the wiring harnesses.

14. Drain the engine coolant (See Service and Repair.)

15. Drain the automatic transaxle fluid (ATF). (See Automatic Transaxle Fluid (ATF) Replacement.)

16. Remove the propeller shaft (AWD). (See Service and Repair.)

17. Remove the front pipe and HO2S. (See Service and Repair.)

18. Disconnect the front drive shaft (RH) from the joint shaft side. Front Axle / Front Drive Shaft Removal/Installation

19. Disconnect the front drive shaft (LH) from the transaxle side. Front Axle / Front Drive Shaft Removal/Installation

20. Remove the A/C compressor with the pipes still connected. (See Service and Repair.)
NOTE:
- Position and secure the A/C compressor out of the way with rope.

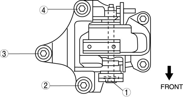
21. Remove in the order indicated in the figure.

22. Install in the reverse order of removal.

23. Start the engine, and inspect and adjust the following:

- Air bleeding Service and Repair
- Front wheel alignment Front Wheel Alignment
- Bleed the air from the cooling system. (See Service and Repair.)
- Runout and contact on pulley and belt
- Leakage of engine oil, engine coolant, automatic transmission fluid, or fuel.
- Ignition timing, idle speed and idle mixture (CO and HC)
- Engine accessories operation

24. Perform a road test and verify that there is no abnormal vibration or noise.










No.1 Engine Mount Removal Note

1. Remove the No.1 engine mount bracket from the underside of the vehicle.






2. Remove the No.1 engine mount rubber and the front crossmember as a single unit. Front Suspension - Crossmember Removal/Installation






No.3 Engine Mount Rubber, No.4 Engine Mount Bracket Removal Note

1. Secure the engine and transaxle using an engine jack and attachment.






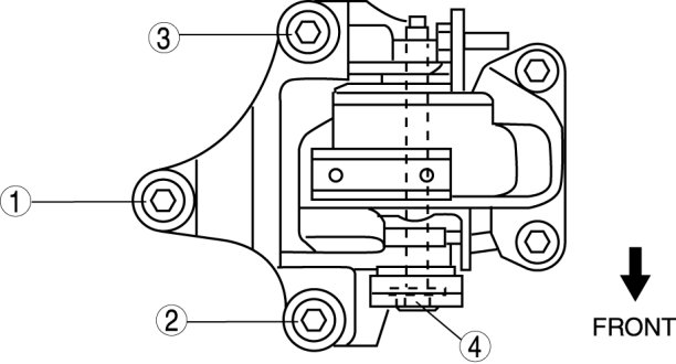
Engine Mount Installation Note

1. Tighten the No. 3 engine mount stud bolt.






Tightening torque
- 7.0-13 Nm {72-132 kgf-cm, 62-115 in-lbf}

2. Temporarily tighten the No.1 engine mount bracket in the order shown in the figure.






3. Secure the engine and transaxle using an engine jack and attachment.






4. Temporarily tighten the No.3 engine mount nuts in the order shown in the figure.






5. Tighten the No.3 engine mount nuts in the order shown in the figure.






Tightening torque
- 74.5-104.9 Nm {7.6-10.6 kgf-m, 55.0-77.3 ft-lbf}

6. Temporarily tighten the No.4 engine mount bracket in the order shown in the figure.






7. Tighten the No.4 engine mount bracket in the order shown in the figure.






Tightening torque
- 74.5-104.9 Nm {7.6-10.6 kgf-m, 55.0-77.3 ft-lbf}

8. Tighten the No.1 engine mount bracket bolt A and B in order of A->B.






Tightening torque
- Bolt A, B: 107.5-134.6 Nm {10.97-13.72 kgf-m, 79.29-99.27 ft-lbf}

9. Fully tighten the bolt C.

Tightening torque
- Bolt C: 86.1-95.1 Nm {8.8-9.6 kgf-m, 63.5-70.1 ft-lbf}

NOTE:
- Bolt C can be tightened from the nut side. When tightening from the nut side, tighten it according to the following tightening torque.
- The tightening torque when tightening from the bolt side is different than when doing it from the nut side because the amount of force required to tighten the respective mount areas differs. These differences in force applied to the mount areas is because of the differences in the contacting surfaces of the mount areas and the material.





Nut C tightening torque
- 59.3-72.5 Nm {6.0-7.3 kgf-m, 43.7-53.4 ft-lbf}