Operation CHARM: Car repair manuals for everyone.
Manuals through 2025 now available!

Our trusted friends have launched a new website named LEMON, which has newer manuals. It also contains all the CHARM manuals.

LEMON is the spiritual successor to CHARM, I recommend you try it!

Link: lemon-manuals.la or lemon-manuals.org.ua

(Some people have issue connecting. LEMON is investigating. For now, use Firefox or change your DNS server)

Or, hide this message: temporarily or permanently

Body - Rear Spoiler Partly Detached

Bulletin No: 09-005/12

Last Issued: 02/02/2012

Subject: REAR SPOILER PARTLY DETACHED FROM TOP OF LIFTGATE

APPLICABLE MODEL(S)/VINS
2007-2012 CX-7

DESCRIPTION





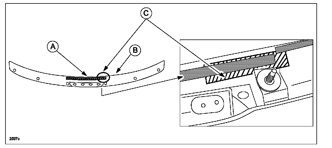
On some vehicles, the center portion of the rear spoiler (A) may become detached (B) from the top of the lift-gate (C) resulting in poor appearance. Wind noise may also occur while driving at highway speeds of 60 mph (100km/h) or more.





To repair the problem, either new tape (A) is applied to the spoiler (B) or the spoiler is replaced.

Customers having this concern should have their vehicle repaired using the following repair procedure.

REPAIR PROCEDURE

1. Verify customer concern.

2. Measure the clearance between the liftgate and the center front edge of the rear spoiler.

^ If the clearance is less than 5 mm, go to the next step.

^ If the clearance is more than 5 mm, replace the spoiler with a new one, and the repair is complete. Refer to the MS3 online instructions or Workshop Manual (section 09-16 REAR SPOILER REMOVAL/INSTALLATION).

3. Remove the rear spoiler according to the M53 online instructions or Workshop Manual (section 09-16 REAR SPOILER REMOVAL/INSTALLATION).





4. Remove the original double-sided tape (A) that remains attached to the rear spoiler (B) and the liftgate using an all purpose adhesive remover such as 3M General Purpose Adhesive Cleaner No. 08984 (can) or No. 38983 (aerosol spray).

CAUTION:
DO NOT remove the clear tape (C) attached behind the double-sided tape.





5. Prepare the double-sided tape contact areas (as shown above) on both spoiler and liftgate using 3M Adhesion Promoter No. 06396.





6. Attach the new double-sided tape (part no. EH44-50-898 as provided in the Parts Information) (A) to the rear spoiler (B) as shown above.

Location of Double-Sided Tape:





NOTE:
^ Align the side of the tape between the molding lines (C) on both sides.

^ Align the front of the tape between two (2) molding lines (D).





7. Replace all four (4) spoiler stud bolt gaskets with new ones. DO NOT reuse old gaskets.

8. Reinstall the rear spoiler according to the MS3 online instructions or Workshop Manual (section 09-16 REAR SPOILER REMOVAL/INSTALLATION).





NOTE:
^ If working in a temperature below 0°C (32°F), warm the double sided tape to approximately 40°C (104°F) using a hand drier or equivalent before attaching the rear spoiler.

^ After installation, firmly press down on the center of the rear spoiler to ensure maximum adhesion.

^ For better adhesion, leave the rear spoiler for 10 minutes after attaching it.

9. Verify repair.





PART(S) INFORMATION





WARRANTY INFORMATION

NOTE:
^ This warranty information applies only to verified customer complaints on vehicles eligible for warranty repair.

^ This repair will be covered under Mazda's New Vehicle Limited Warranty term.

^ Additional diagnostic time cannot be claimed for this repair.