Operation CHARM: Car repair manuals for everyone.
Manuals through 2025 now available!

Our trusted friends have launched a new website named LEMON, which has newer manuals. It also contains all the CHARM manuals.

LEMON is the spiritual successor to CHARM, I recommend you try it!

Link: lemon-manuals.la or lemon-manuals.org.ua

(Some people have issue connecting. LEMON is investigating. For now, use Firefox or change your DNS server)

Or, hide this message: temporarily or permanently

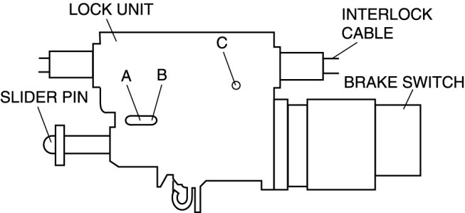
Shift Interlock Cable: Adjustments




INTERLOCK CABLE ADJUSTMENT

1. Turn the ignition switch to the ON position. (Engine off)

2. Pull up the lock piece of the interlock cable to release the lock.






3. Remove the clip of the selector lever base plate, then remove the interlock cable from the U-groove.






4. Remove the interlock cable from the selector lever.

5. Remove the lock unit from the bracket.






6. Verify that the marking on the slider pin is positioned as shown in the figure.






7. Push the interlock cable.






8. Insert the a 1.5mm {0.059 in} round bar or similar into hole A with the slider pin fully pushed in.






9. Fully pull the end of the interlock cable.






10. Push the a 1.5mm {0.059 in} round bar or similar into hole B and hole C of the lock unit until it passes through.






11. Disconnect the brake switch connector.

12. Remove the brake switch. Service and Repair

13. Install a new brake switch. Service and Repair

CAUTION:
- Do not connect the brake switch connector until the interlock cable adjustment is completed.

14. Install the lock unit to the bracket. Service and Repair

15. Rotate the slider pin to release the lock and verify that it slides freely.

16. Verify that the slider pin contacts the brake pedal stopper rubber and rotate the slider pin to lock.






17. Install the interlock cable end to the interlock link on the selector lever.






18. Fit the interlock cable in the U-groove in the selector lever base plate and install the clip.

19. Press the interlock cable lock piece in until it is locked.






CAUTION:
- Applying a load to the interlock cable while pressing the lock piece in can affect the lock unit operation.

20. Remove the a 1.5mm {0.059 in} round bar or similar from the lock unit holes A, B, and C.






21. Connect the brake switch connector with the brake pedal released.

CAUTION:
- The clearance between the brake switch and the brake pedal is automatically adjusted to the correct amount when the brake switch connector is connected after the brake switch has been properly installed. If the brake switch is not properly installed or the connector is connected before installation, the clearance may be incorrect, causing a brake light malfunction. Therefore, always verify that the brake switch is properly installed before connecting the connector.
- Once the brake switch clearance has automatically been adjusted, it cannot be adjusted again. Therefore, replace the switch with a new one when replacing the power brake unit or the pedal, or performing any procedure that changes the pedal stroke.

22. Inspect shift lock operation. Shift-Lock Inspection